Prótesis de sustituc ión os icu la r total
OBJETO DE LA INVENCIÓN
La presente invención se define en la reivindicación 1 y se refiere a una prótesis de sustitución osicular total, prevista para sustituir los huesecillos del oído medio dañados con el fin de permitir la recuperación de la audición, que de otra forma se perdería parcialmente.
Por tanto, el objeto de la invención es proporcionar una prótesis que permite reparar en parte el daño osicular, paliando en cierta medida la hipoacusia o la pérdida auditiva.
La prótesis se encuadra en el sector de la medicina, concretamente en el ramo de la otorrinolaringología (área de otología) .
ANTECEDENTES DE LA INVENCIÓN
Existen numerosos procesos patológicos (infecciones, tumores, etc.) que afectan al oído medio del ser humano y que, por si mismos o debido al tratamiento quirúrgico que precisan, causan un daño parcial o total de la cadena de huesecillos, alterando el normal mecanismo de transmisión del sonido en el oído y ocasionando varios grados de pérdida auditiva, conocida comúnmente como hipoacusia, que depende del mayor o menor número de huesecillos afectados.
Para paliar esa situación y sustituir los huesecillos del oído medio dañados, han sido muchos los autores que han diseñado pequeñas prótesis que, implantadas entre los huesecillos sanos o entre el tímpano y los huesecillos, permiten reparar la reparación parcial del daño osicular y paliar en cierta medida la hipoacusia.
Por otro lado, y habiendo observado y analizado el comportamiento mecanoacústico de distintas prótesis de sustitución osicular del estado de la técnica, se ha comprobado que la mayoría de ellas, por su diseño o por su material constituyente, no tienen la eficiencia acústica deseada. Algunas de las deficiencias más importantes incluyen las siguientes:
- Deficiencias derivadas del material de construcción. Las prótesis de sustitución osicular se fabrican en distintos materiales, todos ellos iocompatibles, tal como platino, titanio, materiales cerámicos e hidroxiapatita (análogo óseo) . Las prótesis fabricadas en materiales cerámicos o análogos óseos tienden a desplazarse de su posición inicial, contactando con el hueso adyacente y anulando con ello su eficiencia acústica. En este sentido, las prótesis más útiles son aquellas fabricadas con metales como platino y en particular titanio, ya que son elementos de gran rigidez y escasa masa.
- Deficiencias de diseño. Hasta la fecha, el diseño de las prótesis se ha hecho no en base a criterios de eficiencia mecano-acústica, sino a las preferencias del cirujano que las diseñan (su destreza quirúrgica, su concepción de la mecánica del oído medio, etc.) . Esto ha favorecido la proliferación de diseños con un comportamiento mecánico muy dispar. Además, dada la imposibilidad de fijar la prótesis en el oído medio, ésta queda "suelta" en la caja del tímpano, esperando que el normal proceso de cicatrización estabilice su situación. Pero esto no siempre ocurre, por lo que las prótesis de sustitución osicular tienden a desplazarse de su posición inicial.
- Por último, las prótesis del estado de la técnica no han sido diseñadas teniendo en cuenta algunos conceptos actuales de la fisiología del oído, como la importante función de los músculos del oído medio. De este modo, las prótesis conocidas actuales desaprovechan las funciones de los músculos del oído, lo que se traduce en una menor discriminación de la voz en ambientes sonoros.
No obstante, se conocen algunas prótesis, como las descritas en los documentos DE 203 10609 y ES 2285 328, previstas para su anclaje en el mango del martillo mediante un anclaje tipo clip, aunque el diseño de las prótesis correspondientes a estos documentos es deficiente, ya que para su colocación es preciso despegar la membrana timpánica del mango del martillo, lo que afecta a su vascularización, conllevando que el citado mango del martillo pueda eventualmente fracturarse.
La US2008097602 describe una prótesis osicular que comprende: una parte de cabezal plano en correspondencia con la membrana timpánica; una estructura de anclaje superelástica de una aleación metálica que proporciona una fuerza de compresión sobre una parte de un huesecillo; y un eje que se extiende entre dicha parte de cabezal y dicha estructura de anclaje y que tiene una longitud que no supero los aproximadamente 5 mm, definiendo dicha estructura de anclaje una apertura, siendo deformable para ensanchar la apertura con el fin de permitir la ecepción de la parte del huesecillo en su interior, y donde la estructura de anclaje se deforma para recibir la tensión de la parte del huesecillo en dicha estructura de anclaje, donde después de la corta duración del comportamiento elástico lineal, permanece esencialmente constante según el preámbulo de la reivindicación 1.
DESCRIPCIÓN DE LA INVENCIÓN
La prótesis de sustitución osicular total de la invención resuelve la problemática anteriormente expuesta, ya que está especialmente diseñada para ser anclada bajo y en la zona media del mango del martillo, características esenciales de la invención, y extendiéndose hacia la ventana oval, de modo que el extremo distal de la prótesis se introduce directamente en el vestíbulo (oído interno) o, preferentemente, descansa sobre un injerto de pericondrio o vena, evitándose la creación de fístulas perilinfáticas.
Mas concretamente, la prótesis de la invención presenta un cuerpo o miembro alargado y ligeramente arqueado, uno de cuyos extremos se remata en un anclaje de horquilla en forma "U", con capacidad elástica, de forma que los brazos se separan por sus extremos para adaptarse y ajustarse perfectamente al mango del martillo.
Con respecto al arqueamiento del miembro, éste está previsto para extenderse desde la confluencia de los brazos de la horquilla o extremo en "U" del anclaje hasta el extremo distal del miembro, consistiendo dicho extremo distal en una porción como prolongación del miembro que va aumentando progresivamente de grosor.
En cuanto al material, si bien puede fabricarse en plásticos biocompatibles, como teflón o floroplástico, preferentemente será de un metal como nitinol o titanio, concretamente éste último, ya que se ha demostrado que el titanio es el componente mejor admitido en el oído medio, con escasísimas tasas de extrusión, por lo que resulta un material idóneo, aunque, como se ha dicho, la prótesis puede fabricarse en otros materiales.
Es decir, el titanio es un material biocompatible que por sus características de rigidez y escasa masa lo hace idóneo para fabricar la prótesis de sustitución osicular objeto de la invención.
En cuanto al diseño, permite un anclaje al mango del martillo, lo que resulta fundamental, ya que impide su desplazamiento como resultado de los fenómenos e cicatrización y fibrosis que siguen a todo procedimiento quirúrgico, de manera que esa movilización de la prótesis tras su colocación hace que pueda contactar con la caja timpánica, inutilizándola funcionalmente, por lo que, al tener un diseño especial e impedir su desplazamiento cuando se implanta, se evitan los problemas que presentan las prótesis convencionales que se suelen colocar o bien bajo el cuadrante timpánico postero-superior o bajo el mango del martillo, pero no ancladas a ningún elemento osicular.
Por otra parte, el diseño de la prótesis aprovecha la acción de uno de los músculos del oído medio, concretamente el músculo del martillo, mejorando así la discriminación del sonido en ambientes ruidosos, lo cual se considera una ventaja mecano-acústica.
En definitiva, la prótesis de la invención aprovecha las ventajas biológicas y mecano-acústicas del anclaje en el mango del martillo, además de respetar la vascularidad de dicho elemento osicular al anclarse por debajo de él y sin necesidad de despegar la membrana timpánica, lo que impide su eventual rotura.
Además, al anclar la prótesis en el mango del martillo en vez de dejarla "suelta" como ocurre tradicionalmente en el oído medio, se aprovechan las características biológicas de la contracción del músculo tensor timpánico, lo que hace que la prótesis en cuestión sea especialmente adecuada para mejorar la inteligibilidad del sonido en ambientes ruidosos.
DESCRIPCIÓN DE LAS FIGURAS
Para complementar la descripción que seguidamente se va a realizar y con objeto de ayudar a una mejor comprensión de las características de la invención, de acuerdo con una realización preferente de la misma, se acompaña como parte integrante un juego de figuras donde, con carácter ilustrativo y no limitativo, se muestra lo siguiente:
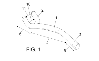
Figura 1: Muestra una vista general de una prótesis de sustitución osicular total realizada de acuerdo con el objeto de la invención.
Figura 2: Muestra una vista en perspectiva del anclaje de la prótesis de la figura anterior, extendiéndose desde el mango del martillo hacia la ventana oval correspondiente.
REALIZACIÓN PREFERENTE DE LA INVENCIÓN
Como se puede ver en las figuras referidas, la prótesis de sustitución osicular total objeto de la invención, preferentemente fabricada en titanio, sin descartar otros materiales biocompatibles, presenta un miembro arqueado (1) , cuyo extremo proximal termina en una horquilla o configuración en "U" (2) , mientras que su extremo distal termina en un tramo (3) como prolongación del miembro (1) . Dicho tramo (3) se denomina base y va aumentando progresivamente de grosor hacia su extremo libre, constituyendo una prolongación del miembro (1) , que es arqueado y tiene la función que se expondrá más adelante.
La longitud del miembro arqueado (1) corresponde a la referencia (4) , mientras que la longitud de la base (3) es la referenciada (5) y la longitud de la horquilla (2) es la referenciada (6) .
La horquilla (2) correspondiente al extremo proximal es elástica y está diseñada para anclarse en la parte media del mango del tímpano (7) , por debajo del mismo, sin levantar la membrana timpánica, como se muestra en la figura 2, quedando anclada y encajada en su lugar, impidiendo un desplazamiento ulterior de la misma.
La forma arqueada del miembro (1) está prevista para salvar la posición excéntrica de la posición del mango del músculo del martillo (8) con respecto al centro del vestíbulo.
El tramo que define la base (3) , su ensanchamiento, está previsto para aumentar la superficie de contacto con la perilinfa del vestíbulo (9) .
Como puede verse, la horquilla (2) presenta un tramo (10) de mayor anchura que el tramo (11) con el objeto de que el anclaje se realice con eficacia, los extremos de los brazos correspondientes a esta horquilla ligeramente divergentes para conseguir una perfecta adaptación en su anclaje. Esa diferencia de amplitud en la anchura de la horquilla (2) , correspondiente a los tramos (10 y 11) , permite un anclaje de tipo clip, que se realizará fácilmente con una simple presión.
Así, y como conclusión de las características esenciales de la invención arriba citadas, la prótesis para la sustitución osicular completa, prevista para reemplazar todos los huesecillos dañados del oído medio, con el fin de evitar la hipoacusia o la pérdida de oído en cierto grado, presentando un miembro (1) que se extiende en uno de sus extremos, considerado proximal, en una horquilla (2) para su anclaje y, n el extremo opuesto, se extiende en una base (3) cuya anchura aumenta progresivamente, tiene las siguientes características esenciales: el miembro (1) es un miembro (1) arqueado de forma continua para su anclaje a la correspondiente zona media del mango del martillo (7) , bajo él, sin levantar la membrana timpánica, mientras que la base (3) proporciona una superficie grande en contacto con la correspondiente ventana oval cuando se aplica la prótesis al oído medio gracias al miembro arqueado de forma continua.