DEVICE FOR THE DETECTION OF SURFACE DEFECTS ON CYLINDERS
| Application number: | PCT/ES2002/000553 (22.11.2002)
| | Priority number: | ES20010002589 (22.11.2001)
| | Applicant: | UNIVERSIDAD COMPLUTENSE DE MADRID (ES) AVENIDA DE SENECA, 2,E-28040 MADRID | | Inventor/s: | BERNABEU MARTINEZ, EUSEBIO (ES); MARTINEZ ANTON, JUAN CARLOS; SANCHEZ BREA, LUIS MIGUEL; SIEGMANN, PHILIP; KRAEMER, CHRISTOPH; STUDER, URS, PETER;
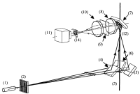
| | IPC previous to 2006.01: | G01N21/952, G01B11/30 | | Abstract: | The invention relates to a device for the detection of surface defects on cylinders. More specifically, the invention relates to the production of a contactless optoelectronic device which is used for detecting, distinguishing and spatially locating surface defects or structures. Said device comprises three units: a) a light unit b) a capture unit and c) a signal processing unit. The invention is suitable for cylinders, cables or metal wires in general. In this specific case, the term surface structure refers to any topographic variation in relation to the cylindrical form.
| INVENES is not a registry but a database of technical disclosure. If you need an update on the legal status of the file or more details on the bibliographic data, please refer to the "CEO", database which is accessible at the OEPM website, or by clicking on the icon 
|