DESCRIPCI N
DISPOSITIVO DE DESINFECCIÓN PARA FLUIDOS QUE CIRCULAN A TRAVÉS DE
CONDUCTOS MEDIANTE RADIACIÓN UV
OBJETO DE LA INVENCIÓN
La presente invención se refiere a un dispositivo de desinfección para fluidos que circulan a través de conductos, que desinfecta dichos fluidos mediante radiación ultravioleta, y es utilizable en el sector técnico de la desinfección de patógenos víricos, en todo tipo de instalaciones de canalización en las que circule un fluido líquido o gaseoso.
ANTECEDENTES DE LA INVENCIÓN
La calidad del aire en recintos cerrados depende de la capacidad de ventilación natural o artificial de los mismos. En el caso de recintos con climatización y/o ventilación forzada, el aire se dirige -para controlar su temperatura- hacia sistemas de climatización, que pueden funcionar -o no- mediante técnicas de recirculación del aire. En cualquier caso, el paso de estos fluidos gaseosos por los sistemas de ventilación o climatización puede ser aprovechado para mejorar su calidad, tal y como se consigue con diversos métodos mecánicos de atrapamiento de partículas tales como filtros para polvo, polen o alérgenos.
La pandemia causada por el coronavirus SARS-CoV-2 ha puesto de manifiesto la transmisión aérea como una posible fuente de contagio, y por lo tanto, como un posible ámbito de mejora de la calidad del aire en recintos cerrados. Así pues, la incorporación de elementos de desinfección en las unidades de climatización o ventilación, o como elementos de uso específico para este fin, se convierte en una estrategia válida para la mejora de la calidad del aire en cuanto a la reducción y eventual eliminación de su carga patógena. Este mismo tipo de sistemas de desinfección pueden ser adaptados a fluidos, por ejemplo el agua, en situaciones donde el control de otro tipo de patógenos, como la bacteria causante de la Legionella, pueda resultar de interés. En ese sentido, podemos ejemplificar las capacidades germicidas de la radiación UV utilizando el patógeno de la COVID19.
Los coronavirus son miembros del grupo Coronaviridae, disponen de un ADN rodeado por un nvoltorio helicoidal en forma de corona (Ryan 1994, Ryan, K. J. (1994) . Sherris Medical Microbiology. Appleton & Lange, Norwalk.) . Estudios del Coronavirus SAR indican un grado de infección elevadísimo (He, Y., Jiang, Y., Xing, Y. B., Zhong, G. L., Wang, L., Sun, Z. J., Jia, H., Chang, Q., Wang, Y., Ni, B., and Chen, S. P. (2003) . "Preliminar y result on the nosocomial infection of severe acute respirator y ) por lo que la desinfección de los espacios es necesaria para contener la propagación. Hay diversos estudios que indican que algunos tipos de coronavirus ven reducida su capacidad de infección por medio de luz UV. Por ejemplo (Darnell ME, Inactivation of the coronavirus that induces severe acute respirator y syndrome, SARS-CoV. J Virol Methods. 2004 Oct;121 (1) :85-91.) indican que el Coronavirus SARS-CoV fue inactivado utilizando luz ultravioleta (UV) en la longitud de onda de 254nm durante un cierto periodo de tiempo.
La luz ultravioleta es una energía comprendida entre 100 y 400nm (CIE 155:2003) . UVA comprende los 315 a 400nm, UVB de 280 a 315 nm y UVC de 100 a 280nm. Esta norma define el término UVGI como la luz ultravioleta con radiación germicida. Esta acción germicida sigue las principales leyes, como la ley del inverso del cuadrado de la distancia, o la Ley Bunsen-Roscoe de reciprocidad, que dice que el tiempo de exposición es inversamente proporcional a la irradiación de la muestra para un mismo nivel de inactivación.
Hay diversos métodos de desinfección como filtrado HEPA, calor, radiación. Por ejemplo, la patente WO2007081401A2 "Use of ultraviolet germicidal irradiation in health care environments" comenta un método de desinfección UV en conjunto con un emisor de ozono que funciona cuando no hay gente. En esta patente y otras, no se encuentra un sistema de desinfección UV automático que controle la estancia y el tiempo necesario para desinfección. Aunque sí que hay artículos como [Bedell2016, Bedell K, Buchaklian AH, Perlman S. "Efficacy of an Automated Multiple Emitter Whole-Room Ultraviolet-C Disinfection System Against Coronaviruses MHV and MERS-CoV". Infect Control Hosp Epidemiol. 2016;37 (5) :598-9] que hablan de un sistema UV-C de desinfección para superficies que inactiva el virus tipo ADN como el MHV-A59, el MERS-CoV y el SARS-CoV.
La patente RO119069B1 INSTALLATION FOR AIR AND SURFACES DISINFECTION USING VARIABLE BEAM OF NON-IONIZING RADIATION hace referencia a un sistema en el que se emplean elementos cilíndricos.
La patente US2017232127A1 sobre DESINFECTION SYSTEM es un Sistema que emplea zono.
La patente WO2007085262A1 SYSTEM FOR REMOVAL OF AIRBORNE CONTAMINANTS se refiere a una cámara con una lámpara que genera radiación ultravioleta y ozono y evita que la fuente de radiación se ensucie.
La patente WO9826810A1 METHOD AND DEVICE FOR SHEER FILTERING AND DESINFECTION OF BREATHING AIR es un sistema que comprende una canalización en la que se encuentran diversos elementos como un filtro de carbón y una fuente de radiación UV pero no se especifica nada sobre el tipo de geometría de la cámara en la que se encuentra la fuente.
La patente WO02079701A1 sobre DESINFECTION SYSTEM AND METHOD OF USING SAME dispone de una cámara en la que el oxígeno es convertido en ozono el cual posteriormente es dirigido a una cámara que lo elimina de forma que se evita el riesgo de contacto con el mismo.
La patente UA84463U DEVICE FOR DESINFECTION OF AIR BY ULTRAVIOLET RADIATION es un sistema que dispone de un trípode que permite su fijación sobre los objetos que se quieren desinfectar.
La patente WO2007026050A1 AIR DISINFECTION DEVICE dispone de una cámara sobre la cual no se fija ningún tipo de requerimiento, donde hay una luz ultravioleta para producir ozono.
La patente WO2019045777A1 AIR TREATMENT SYSTEM AND METHOD dispone de un ventilador con un codo de 90° en el que se disponen unas fuentes LED para radiación de luz UV. La proporción entre la llamada cámara sanitaria y la sección transversal puede ser de 25.
La patente O03039604A2 ULTRAVIOLET DISINFECTING APPARATUS dispone de un tubo donde la radiación se propaga mediante reflexión total interna
La patente WO9709073A1 PHOTOCATALYTIC AIR DISINFECTION es un Sistema en el que se emplea la capa superior de un filtro que dispone de un material con una energía de enlace que permite generar un proceso de fotocatálisis.
La patente EP2100624A1 Device and method for disinfecting air, dispone de una cámara con dos Fuentes de radiación de UV una de las cuales es para generar ozono y la otra es diferente a la primera.
Estos documentos, presentan diferentes disposiciones y sistemas para desinfección que utilizan radiación UV y ozono, pero no describen ninguna característica que amplifique o intensifique los efectos de la radiación, de forma que requieren elementos UV de mayor empaque y costes en comparación con el dispositivo de la invención.
DESCRIPCIÓN DE LA INVENCIÓN
El dispositivo de desinfección para fluidos que circulan a través de conductos mediante radiación UV de la invención comprende, en su realización más genérica:
-una cámara provista de medios de fijación al conducto en el que se aplica el dispositivo y abierta hacia dicho conducto para que el flujo circule a través de la misma,
-cuya cámara comprende interiormente, al menos, un reflector elíptico (que por tanto comprende dos focos) ,
-que comprende, al menos, una fuente de luz ultravioleta (una o varias) de longitud de onda adecuada (luz UVC) dispuesta en un primer foco del reflector, y
-donde el reflector, y particularmente su segundo foco, se encuentra dispuesto en la zona de circulación del flujo.
De este modo, en la zona correspondiente al segundo foco del reflector se consigue una concentración cruzada de todas las trayectorias de la luz generada en la fuente de luz UV dispuesta en el primer foco, aumentando la intensidad luminosa y la desinfección en esta zona. Pero no solo eso, el reflector así configurado forma una caja de resonancia lumínica donde la luz circula y se refuerza por toda la sección, y acentúa los efectos desinfectantes al pasar por el segundo foco común, y también por el primer foco -o por todos los focos en geometrías elípticas compuestas- por lo que todos los focos serán zonas de mayor desinfección y serán adecuados para desinfectar flujo circulante, e incluso se generarán otras zonas con efecto acentuado.
Por tanto, se trata de un dispositivo de desinfección para conductos de fluido (aire, agua, etc.) en donde dicho flujo circula por su interior, y que tiene un reflector de geometría elíptica, que uede ser simple o compuesta (materializada mediante una o varias elipses) y donde la radiación UV emitida se confina dentro del reflector, consiguiendo que pase, en función del coeficiente de reflectancia de las superficies interiores, numerosas veces de forma resonante por las otras zonas, especialmente por el segundo foco, ejerciendo de esta manera una mayor y mejor inactivación de los elementos patógenos que se encuentren en el fluido que circula por el conducto.
El dispositivo se intercalará en una canalización, por ejemplo, de aire, y gracias a su geometría y materiales permite aprovechamiento óptimo de la radiación emitida. La invención se orienta a la eliminación de patógenos víricos que se encuentren en el interior de canalizaciones, por ejemplo de aire acondicionado. Además, dispondrá de PCB (circuitos impresos) o casquillos para sujetar las fuentes UV-C.
La luz UVC generada se dirige hacia el segundo foco, donde se haya la zona de desinfección, y además puede seguir propagándose hacia el resto de geometría, para retornar hacia la zona de desinfección de forma iterativa. En función de la inclinación de la trayectoria de la luz, los sucesivos pasos y retornos se realizarán a distintas alturas consiguiendo mayor efectividad. La canalización conectará con el dispositivo, bien en el plano perpendicular a las elipses, o bien en el eje transversal de la misma, ocupando siempre zonas en las que la posibilidad de escape de la radiación sea mínima.
El reflector tendrá una reflectancia lo más elevada posible para permitir que la radiación se refleje con eficacia el máximo número de veces posible, y puede estar compuesto por una o varias secciones elípticas en las que se hace coincidir un foco de las mismas, de forma que la radiación pase de una a otra sección, pero manteniendo las mismas propiedades de recirculación de la luz. Esta caja de resonancia lumínica se puede terminar mediante superficies reflectantes planas o curvas en función de las características ópticas de las fuentes de luz.
BREVE DESCRIPCIÓN DE LOS DIBUJOS
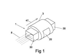
Figura 1.- Representa el dispositivo de la invención en una realización donde el reflector tiene geometría elíptica simple y la circulación de flujo es alineada con la generatriz del reflector.
Figura 2.- Representa el dispositivo de la invención en la realización de la figura 1, acoplado a una canalización horizontal.
Figura 3.- Representa el dispositivo de la invención en una realización donde el reflector tiene geometría elíptica simple y la circulación de flujo es perpendicular al eje mayor de la sección.
Figura 4.- Representa el dispositivo de la invención en la realización de la figura 3, acoplado a una canalización vertical.
Figura 5.- Representa una sección transversal de un reflector de geometría elíptica simple y las trayectorias resonantes -en el plano transversal- de la luz generada en la fuente de luz UVC, y que se reflejan sucesivamente y tienden a acercarse cada vez más al plano horizontal que contiene los focos de la sección elíptica.
Figura 6.- Representa una sección transversal de un reflector formado por una sección elíptica compuesta por dos secciones elípticas simples alineadas por su eje mayor, donde el segundo foco de ambas secciones simples es coincidente y en el primer foco de cada sección simple se dispone una fuente de luz, donde se aprecia que las sucesivas trayectorias resonantes de a luz UV generada recorren ambas secciones.
DESCRIPCIÓN DE UNA REALIZACIÓN PRÁCTICA DE LA INVENCIÓN
El dispositivo (1) de desinfección para fluidos que circulan a través de conductos (2) mediante radiación UV de la invención comprende:
-una cámara (3) provista de medios de fijación al conducto (2) en el que se aplica el dispositivo, por ejemplo cuellos (30) y bridas (31) para insertarse y apretarse contra extremos abiertos de dichos conductos (2) , intercalándose entre los mismos, como se ve en las figs. 1 a 4, y abierta hacia dicho conducto (2) ,
-cuya cámara (3) comprende interiormente, al menos, un reflector (4) elíptico (ver figs. 5 y 6) , que comprende dos focos (41, 42) ,
-que comprende, al menos, una fuente de luz ultravioleta (5) UVC (una o varias) dispuesta en el primer foco (41) del reflector (4) , y
-donde el reflector (4) , y particularmente su segundo foco (42) , se encuentra dispuesto en la ona de circulación (6) del flujo.
En una primera realización más sencilla (ver fig. 5) , el reflector (4) comprende sección elíptica simple (44) (forma de una elipse simple) , en cuyo primer foco (41) está dispuesta la fuente de luz ultravioleta (5) UVC y en cuyo segundo foco (42) se refuerza mucho la irradiación al flujo, como puede verse en la fig. 5.
En una variante de esta primera realización, no representada, el reflector (4) puede comprender sección elíptica simple (44) , en cada uno de cuyos focos (41, 42) se encuentra dispuesta, al menos, una fuente de luz ultravioleta (2) , generando en las inmediaciones de cada foco una mayor concentración de luz UV y mayor desinfección en las mismas. Esto es, cada foco es un primer foco y un segundo foco a la vez. En cualquiera de estas dos realizaciones, puede verse en la fig. 5 cómo las trayectorias sucesivamente reflejadas de la luz (100) tienden a acercarse cada vez más al plano horizontal que contiene los focos (41, 42) de la elipse, y se consigue una mayor desinfección en esta zona, lo que la hace idónea para utilizar conductos de sección oblonga.
En otra variante de la invención, el reflector (4) puede comprender sección elíptica compuesta (45) , formada por una pluralidad de secciones elípticas simples (44) cuyos segundos focos (42) son coincidentes posicionalmente, y en cuyos primeros focos (41) se encuentra dispuesta una fuente de luz ultravioleta (5) (una o varias) . Por ejemplo, en la fig. 6 se muestra que el reflector (4) comprende sección elíptica compuesta (45) , formada por dos secciones elípticas simples (44) alineadas por su eje mayor (44a) , cuyos segundos focos (42) son coincidentes posicionalmente en la línea de intersección (44b) de ambas secciones elípticas simples (44) , y en cuyos primeros focos (41) se encuentra dispuesta una fuente de luz ultravioleta (5) . Esto refuerza aún más el efecto resonante ya que todas las trayectorias (100) pasan por las dos secciones elípticas simples (44) , y especialmente por todos los focos (41, 42) .
Igualmente, en cualquiera de las variantes descritas la fuente de luz (o fuentes de luz) ultravioleta (5) pueden disponerse desplazadas ligeramente (a una distancia proporcional al diámetro de la fuente emisora, entre una y 10 veces su diámetro por ejemplo) del primer foco (41) donde se instalan, para evitar que la radiación pase de nuevo por la misma fuente y se recaliente la misma, si bien esta prestación no se representa en las figuras.
Indicar que, ya que el reflector debe ser continuo, la cámara (3) puede estar integrada por la ropia estructura del reflector (4) , como se muestra en las figuras. Esto es, la cámara queda definida por el reflector. Son la misma cosa excepto en los cuellos (30) de unión con el conducto (2) . De esta forma se ahorra material y costes.
El reflector (4) puede estar posicionado de forma que el sentido del flujo (8) se encuentre alineado con la dirección de la generatriz (47) del reflector (4) (para ello las entradas a la cámara (2) se encontrarán en ambos extremos de la cámara, en la dirección de dicha generatriz, como se ve en las figs. 1 y 2) , o alternativamente, el reflector (4) puede estar posicionado de forma que el sentido del flujo (8) sea perpendicular al eje mayor (44a) de la sección del reflector (4) , como se ve en las figs. 3 y 4. Para ello las entradas a la cámara se encontrarán en ambos extremos de la dirección de dicha generatriz.
Indicar que las fuentes de luz ultravioleta (5) pueden estar montadas en una placa de circuito impreso o en portalámparas (casquillos) , no representados.
La invención ha previsto la posible disposición de un conmutador/regulador, no representado de intensidad luminosa de las fuentes de luz ultravioleta (5) , asociado a (ver figs. 5 y 6) unos medios de medición (sensores de flujo (10) ) o establecimiento (impulsores del flujo) de la velocidad del flujo. Este conmutador/regulador, en cooperación con los sensores de flujo (10) también se encargará de apagar las fuentes de luz ultravioleta (5) en caso de que no exista circulación de aire.
Igualmente se ha previsto la posible disposición de unos filtros (11) bloqueantes de las longitudes de onda comprendidas entre 100 nm y 220 nm dispuestos en las fuentes de luz ultravioleta (5) para evitar la generación de ozono, ya que estas longitudes de onda son las que producen generación de ozono al irradiar el aire (para conductos donde circula aire) .
También se ha previsto la posible disposición de un sensor de CO2 (12) para evaluar la posible sobrecarga de elementos patógenos en el aire y la entrada en funcionamiento del dispositivo con mayor o menor intensidad de la luz.
Además, la cámara (2) puede comprender registros (20) para mantenimiento, pudiendo disponer en este caso de un sensor de apertura (13) de los mismos, asociado al conmutador/regulador o a la alimentación de las fuentes de luz ultravioleta (5) para cortar dicha alimentación en caso de apertura del registro.
Del mismo modo, puede disponerse un sensor de radiación UV (14) (asociado a un panel de avisos y/o a una unidad de control) para verificar el funcionamiento correcto las fuentes de luz ultravioleta (5) .
Por último, se define la geometría favorita del reflector para unas pruebas que se han realizado donde, para una canalización de aire acondicionado de sección cuadrada de 40 cm de ancho y 40 cm de alto comprende un reflector (4) elíptico simple de 70 cm de eje longitudinal, 10 cm de distancia focal y 49 cm de eje vertical, de forma que quede centrado en el conducto de aire acondicionado y de longitud en el sentido de la generatriz de 60cm, con una única fuente de radiación UV-C en el primer foco (41) de la sección.
Descrita suficientemente la naturaleza de la invención, así como la manera de realizarse en la práctica, debe hacerse constar que las disposiciones anteriormente indicadas y representadas en los dibujos adjuntos son susceptibles de modificaciones de detalle en cuanto no alteren el principio fundamental.