SISTEMA Y PROCEDIMIENTO DE MEDICIÓN DE TENSIÓN Y CORRIENTE
DE MÓDULOS SOLARES FOTOVOLTAICOS
SECTOR DE LA TÉCNICA
La presente invención pertenece al campo técnico de la electrónica Industrial.
Tanto el sistema, como el procedimiento de medición de tensión y corriente en módulos solares fotovoltaicos según la presente invención, son de utilidad en el ámbito de la producción de energía mediante módulos solares fotovoltaicos.
ANTECEDENTES DE LA INVENCIÓN
La medición de la tensión y la corriente de los módulos solares fotovoltaicos -también llamados paneles solares fotovoltaicos- a lo largo de su vida útil es fundamental, entre otros propósitos, para disponer de información actualizada sobre la evolución de su rendimiento y para predecir posibles fallos futuros.
Es más, el trazado de la característica tensión/corriente de cada uno de los paneles solares individuales que forman parte de un sistema de producción de energía solar fotovoltaica, es una de las pruebas que más información suministra acerca del estado en el que se encuentra dicho sistema. De hecho, permite localizar posibles fallos o degradaciones en cada panel solar fotovoltaico de los que consta dicho sistema de producción de energía o, incluso, en partes de los mismos. Por ello, esta técnica se emplea habitualmente, entre otros propósitos, en tareas de diagnóstico y monitorización de sistemas de producción de energía solar fotovoltaica.
Para trazar la característica tensión/corriente se somete a cada panel a una carga variable (también llamada resistencia variable) , que varía -preferiblemente- desde el cortocircuito hasta el circuito abierto y se miden los valores de tensión y corriente asociados a dicha carga.
Habitualmente los paneles solares se montan en asociaciones en serie (llamadas usualmente `strings") para alcanzar las tensiones de trabajo necesarias. Por ello, hasta la fecha, si se desea medir la tensión y/o la corriente de módulos solares fotovoltaicos ndividuales, es necesario desconectar dichos módulos del sistema de producción de energía solar fotovoltaica para hacer medidas sobre ellos con un instrumento específico, lo que supone interrumpir la producción eléctrica de toda la asociación de paneles fotovoltaicos (string) de la que dichos paneles fotovoltaicos forman parte, e invertir cierto tiempo y trabajo en ello.
En el estado de la técnica existe, por tanto, la necesidad de desarrollar un sistema y un procedimiento de medición de tensión y corriente de módulos solares capaz de operar sin que para ello sea necesario desconectar previamente dichos módulos del la asociación de módulos fotovoltaicos en serie (o string) del que forman parte.
Asimismo, sería deseable desarrollar un sistema de medición de tensión y corriente de módulos solares fotovoltaicos que pudiese integrarse, al menos parcialmente, en los propios paneles.
EXPLICACIÓN DE LA INVENCIÓN
La presente invención pretende abordar los problemas y desventajas de la técnica anterior, mencionados anteriormente.
Para ello, un primer objeto de la presente invención se refiere a un sistema de medición de tensión y corriente de al menos un módulo solar fotovoltaico integrado en una asociación en serie de módulos solares fotovoltaicos, estando caracterizado dicho sistema porque comprende:
- un primer interruptor que está dispuesto entre los terminales de dicho módulo solar fotovoltaico y está configurado, además, para adoptar de forma reversible una configuración seleccionada entre: una configuración cerrada, que permite el paso de corriente eléctrica, y una configuración abierta, que interrumpe el paso de corriente,
- un segundo interruptor dispuesto en un terminal de dicho módulo solar fotovoltaico, estando el segundo interruptor configurado, además, para adoptar de forma reversible una configuración seleccionada entre: una configuración cerrada, que permite el paso de corriente eléctrica, y una configuración abierta, que interrumpe el paso de corriente,
- una carga variable, conectada en paralelo con el segundo interruptor,
-al menos un dispositivo de medida de corriente; y
-al menos un dispositivo de medida de tensión.
En una realización preferida del sistema de medición según la presente invención, el segundo interruptor está dispuesto en el terminal del módulo solar fotovoltaico que une dicho módulo solar fotovoltaico al módulo posterior de la asociación en serie de módulos solares fotovoltaicos. Dicha realización del sistema de medición según la presente invención es capaz de obtener las características tensión/corriente de un módulo solar fotovoltaico, sin que para ello sea necesario desconectarlo de la asociación de módulos solares en la que está integrado.
Más adelante se explica en detalle con relación a las Figuras 2A, 2B y 2C, cómo el sistema de acuerdo con la presente invención es capaz de medir la característica tensión/corriente sometiendo al módulo solar fotovoltaico bajo medida a una carga (o resistencia) variable, sin que para ello sea imprescindible interrumpir la producción eléctrica de la asociación en serie de módulos solares a la que pertenece dicho módulo bajo medida. De hecho, más en particular, el sistema de la invención permite que la asociación en serie siga funcionando, aunque a costa de una pequeña disminución de la tensión total de la generada durante el tiempo que dure la medida.
En una realización preferida de la invención el sistema está provisto de un microcontrolador configurado para controlar al menos un dispositivo de medida de corriente y al menos un dispositivo de medida de tensión. Más preferiblemente, el micro-controlador está configurado para controlar, además, el primer interruptor y el segundo interruptor.
Asimismo, el sistema de medición según la presente invención puede estar opcionalmente provisto de módulo de comunicaciones configurado para enviar al exterior, las mediciones de tensión y corriente tomadas. Preferiblemente, el módulo de comunicaciones es un módulo de comunicaciones inalámbrico.
Además, en el sistema según la presente invención el primer interruptor y/o el segundo interruptor pueden comprender, por ejemplo y sin carácter limitativo, un relé, un transistor MOSFET (Transistor de Efecto Campo Metal Óxido Semiconductor) , o un transistor IGBT (Transistor Bipolar de Puerta Aislada) .
Preferiblemente, en el sistema según la presente invención al menos un dispositivo de medida de corriente comprende un sensor de efecto Hall.
El sistema de medición según la presente invención puede estar integrado, al menos parcialmente, en los propios módulos solares fotovoltaicos, dándole un valor añadido a los mismos.
El sistema de medición de la presente invención también está preferiblemente provisto de un condensador configurado para:
i) cargarse durante el funcionamiento normal del módulo solar fotovoltaico bajo medición (es decir, cuando primer interruptor está en su configuración abierta y el segundo interruptor está en su configuración cerrada) ; y para
ii) suministrar corriente de alimentación cuando dicho módulo solar está en cortocircuito (es decir, cuando el primer interruptor está en su configuración cerrada) .
Un segundo objeto de la presente invención se refiere a un procedimiento de medición de tensión y corriente de al menos un módulo solar fotovoltaico integrado en una asociación en serie de módulos solares fotovoltaicos, mediante un sistema de medición según el primer aspecto de la invención, caracterizado porque comprende las siguientes etapas:
i) poner el primer interruptor del sistema de medición en su configuración cerrada;
ii) poner el segundo interruptor del sistema de medición en su configuración cerrada, si no estuviese ya en esa configuración;
iii) medir la corriente de cortocircuito del módulo solar fotovoltaico con el dispositivo de medida de corriente del sistema de medición;
iv) poner el segundo interruptor del sistema de medición en su configuración abierta;
v) medir la corriente y tensión del módulo solar fotovoltaico para una serie de valores de resistencia predeterminados, de la carga variable, con el dispositivo de medida de corriente y el dispositivo de medida de tensión del sistema de medición.
vi) poner el primer interruptor del sistema de medición en su configuración abierta y poner y el segundo interruptor del sistema de medición en su configuración cerrada;
La etapa vi) arriba descrita devuelve el modulo solar fotovoltaico a su condición normal de funcionamiento, en la que está conectado directamente a la asociación en serie de módulos solares fotovoltaicos a la que pertenece para producir energía solar fotovoltaica, y en la que no interviene la carga variable.
BREVE DESCRIPCIÓN DE LOS DIBUJOS
Para complementar la descripción que se está realizando y con objeto de ayudar a una ejor comprensión de las características de la invención, se acompaña como parte integrante de dicha descripción, un juego de dibujos en donde con carácter ilustrativo y no limitativo, se ha representado lo siguiente:
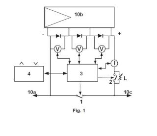
Figura 1.- Muestra esquemáticamente una posible realización de un sistema de medición según la presente invención; y
Figuras 2A, 2B y 2C.- Muestran esquemáticamente las principales etapas de un procedimiento de medición de tensión y corriente utilizando un sistema de medición según la presente invención.
REALIZACIÓN PREFERENTE DE LA INVENCIÓN
A lo largo de la presente descripción, así como en las figuras, los elementos con funciones iguales o similares se designarán con las mismas referencias numéricas.
En la figura 1 se muestra esquemáticamente una posible realización de un sistema de medición según la presente invención, conectado a un módulo solar fotovoltaico 10b bajo medida.
El módulo solar fotovoltaico 10b objeto de las mediciones está integrado en una asociación de módulos solares fotovoltaicos 10a, 10b, 10c conectados en serie entre sí, siendo el módulo 10a el módulo inmediatamente anterior al modulo 10b dentro de dicha asociación en serie y el módulo solar 10c el inmediatamente posterior al mismo.
Para facilitar la comprensión de la invención, en las realizaciones aquí mostradas tan sólo el módulo solar 10b está provisto de un sistema de medición según la presente invención. No obstante, dicho sistema de la invención podría estar igualmente integrado en varios módulos solares de la asociación en serie, o incluso, en todos ellos.
En esta realización particular de la invención, el módulo solar 10b está formado por tres células solares individuales unidas en serie entre sí.
Entre los dos terminales del módulo solar 10b, positivo (+) y negativo (-) , está dispuesto un primer interruptor 1. Asimismo, un segundo interruptor 2 está dispuesto sobre el terminal + del módulo 10b, que une dicho módulo con el módulo siguiente 10c. Conectada en paralelo al segundo interruptor 2, está dispuesta la carga variable L.
En la realización del sistema de la invención mostrada en la figura 1, un dispositivo I de medida de corriente está dispuesto aguas arriba del segundo interruptor 2. El dispositivo I s, en esta realización particular de la invención, un sensor de efecto Hall.
También están provistos tres dispositivos V de medida de tensión, estando cada uno de dichos dispositivos V destinado a medir la tensión en una de las células solares de las que consta el módulo solar 10b.
El sistema de medición según la invención, mostrado en la figura 1, también comprende micro-controlador 3 configurado para controlar el primer interruptor 1, el segundo interruptor 2, el dispositivo I de medida de corriente y los dispositivos V de medida de tensión. En esta realización particular de la invención, el micro-controlador 3 es un micro-controlador comercial programable multifunción, provisto de convertidores analógico digitales y que se conecta al dispositivo I de medida de corriente por medio de un bus SPI (Bus de Interfaz de Periféricos) .
En esta realización particular de la invención, los distintos componentes que forman el sistema de medición de tensión y corriente se alimentan directamente del módulo solar 10b, para lo que está provisto un convertidor DC/DC (de corriente continua a corriente continua) , no mostrado en las figuras, que proporciona la tensión de alimentación (de entre 3, 3 y 5 voltios) a partir de la tensión generada por el módulo solar 10b (de hasta 50 V, dependiendo del modelo) .
El sistema de medición ilustrado en la figura 1 también está provisto de de un condensador (no visible en las figuras) configurado para: cargarse durante el funcionamiento normal del módulo solar fotovoltaico 10b bajo medición y para suministrar corriente de alimentación cuando dicho módulo solar 10b está en cortocircuito.
Finalmente, está provisto un módulo 4 de comunicaciones, el cual, en esta realización particular de la invención es módulo inalámbrico LoRa (Long Range en inglés) , que trabaja en una banda de frecuencias de uso libre (ICM) , y está conectado con una unidad exterior para recibir las órdenes de medidas deseadas y transmitir los datos correspondientes.
De este modo, en esta realización particular de la invención, el micro-controlador 3 con todos los periféricos mencionados (el primer interruptor 1, el segundo interruptor 2, el dispositivo I de medida de corriente y los dispositivos V de medida de tensión) , estaría programado para recibir órdenes de una unidad externa vía el módulo 4 de comunicaciones, para iniciar la batería de medidas de tensión y corriente, y transmitir los datos al sistema externo.
Las Figuras 2A, 2B y 2C muestran esquemáticamente un posible proceso de medición de ensión y corriente de un modulo solar fotovoltaico 10b utilizando un sistema de medición según la presente invención y sin que para ello sea necesario interrumpir el funcionamiento normal de la asociación de módulos solares fotovoltaicos 10a, 10b, 10c de la que forma parte, de modo que dicha asociación puede seguir trabajando para generar energía solar fotovoltaica.
A lo largo de la presente descripción debe entenderse que un interruptor está "abierto" cuando se encuentra en su configuración abierta, mientras que un interruptor cerrado está "cerrado" cuando se encuentra en su configuración cerrada. Esta convención se ha adoptado para simplificar la descripción de la invención.
La Figura 2A muestra la configuración del sistema de medición según la invención durante el funcionamiento normal de la asociación en serie de módulos solares fotovoltaicos 10a, 10b, 10c. Como puede apreciarse en dicha figura, el primer interruptor 1 está abierto y el segundo interruptor 2 está cerrado lo que asegura la conexión del módulo solar 10b a dicha asociación en serie de módulos solares fotovoltaicos 10a, 10b, 10c, sin que la carga variable L intervenga de forma significativa.
Tal y como se ilustra de forma esquemática en la figura 2B, cuando se desea hacer una medida de tensión / intensidad en el módulo 10b, primero se cierra el primer interruptor 1, que une módulo solar 10b con el cable que va al módulo siguiente 10c en la asociación serie, garantizando así la continuidad de la corriente de producción (es decir, la corriente eléctrica generada por la asociación en serie de módulos solares fotovoltaicos 10a, 10b, 10c) . Además, el cierre del primer interruptor 1 cortocircuita el módulo solar 10b considerado, permitiendo así la medida de la corriente de cortocircuito del mismo.
A continuación, como se ilustra esquemáticamente en la figura 2C se abre el segundo interruptor 2 para permitir la actuación de la carga variable L. Durante esta última etapa, se realizarán medidas de corriente y tensión, preferiblemente en cada una de las de células que componen dicho módulo 10b, para una serie de valores predefinidos de la carga variable L, caracterizando así de la forma más completa posible su comportamiento Tensión/Corriente.
Para hacer que el módulo solar fotovoltaico vuelva a su funcionamiento normal, se sigue el proceso inverso, cerrando primero el segundo interruptor y abriendo después el primer interruptor 1, devuelve el sistema a la situación de funcionamiento normal.
Aunque, tal y como se ha explicado previamente, el sistema según la invención es capaz e medir la tensión y corriente de módulos solares fotovoltaicos 10b sin que para ello sea imprescindible interrumpir el funcionamiento la asociación de módulos solares 10a, 10 b y 10c en la que están integrados, si así se desea también es posible utilizar dicho sistema según la invención para medir la tensión y corriente en un módulo solar fotovoltaico individual, interrumpiendo para ello la corriente en la asociación en serie de módulos solares fotovoltaicos 10a, 10b, 10c la que forma parte.
Este sistema, tal y como se ha descrito, tendría aplicación en la industria de la energía solar fotovoltaica, y podría ser integrado en los módulos solares como un valor añadido a los mismos.
La presente invención no está limitada, en modo alguno, a las realizaciones aquí divulgadas. Para la persona experta en la técnica serán evidentes otras posibles realizaciones diferentes de esta invención, a la vista de la presente descripción. En consecuencia, el alcance de protección de la presente invención está definido, exclusivamente, por las reivindicaciones que siguen a continuación.