MÉTODO Y SISTEMA PARA INSPECCIONAR PANELES FOTOVOLTAICOS EN
FUNCIONAMIENTO
OBJETO DE LA INVENCIÓN
La presente invención se refiere al campo técnico de las energías renovables y más concretamente a la inspección y control de calidad de módulos fotovoltaicos en funcionamiento mediante, por ejemplo, medidas de electroluminiscencia.
ANTECEDENTES DE LA INVENCIÓN
Actualmente, en la inspección de módulos fotovoltaicos mediante luminiscencia es necesario desconectar el panel de la red eléctrica para poder aplicar una tensión eléctrica mediante una fuente de alimentación.
La desconexión del panel supone un problema de seguridad y una pérdida productiva, dado que, aunque la caracterización de un único panel no requiere mucho tiempo, en las plantas fotovoltaicas los paneles están conectados en grandes series.
Por tanto, se echa en falta en el estado del arte una solución que permita controlar el buen funcionamiento de las instalaciones solares de una forma segura y que no interfiera en la operación normal de los paneles.
El estado de la técnica viene dado, por ejemplo, por el documento WO2018098516 que divulga aparatos y métodos para inspeccionar módulos fotovoltaicos en uno o más puntos, empleando técnicas de imagen de luminiscencia de escaneado en línea.
Además, los documentos WO2016118975 y US 2018262159 describen otros métodos de inspección de módulos fotovoltaicos que incluyen iluminar una porción de la superficie de dichos módulos.
No obstante, ninguno de dichos documentos de la técnica anterior describe la presente invención tal y como ahora se reivindica.
DESCRIPCIÓN DE LA INVENCIÓN
Con el fin de alcanzar los objetivos y evitar los inconvenientes mencionados anteriormente, la presente invención describe, en un primer aspecto un sistema para inspeccionar un panel fotovoltaico que comprende:
- unos medios cobertores, conmutables entre dos estados de diferente opacidad, configurados para disponerse sobre el panel fotovoltaico y cubrir al menos una primera célula de un grupo de células de dicho panel;
- una carcasa dimensionada para cubrir una parte de una segunda célula del grupo de células;
- unos medios de captura de imagen, alojados en la carcasa, configurados para obtener imágenes de luminiscencia emitida por la parte cubierta de la segunda célula; y
- un microprocesador que dispone de un software de tratamiento de imagen configurado para obtener la variación de luminiscencia de la segunda célula, basada en las imágenes de luminiscencia obtenidas para los estados de diferente opacidad de los medios cobertores y determinar un estado de funcionamiento basado en la variación de luminiscencia obtenida.
El sistema de la presente invención contempla en una de sus realizaciones un relé de estado sólido, alojado en la carcasa, que controla la conmutación de los medios cobertores de un primer estado de opacidad a un segundo estado de opacidad y viceversa. Así, ventajosamente puede controlarse las condiciones de opacidad de los medios cobertores, para posteriormente determinar la imagen de luminiscencia mediante la sustracción de las imágenes obtenidas con diferente opacidad de los medios cobertores. En una de las realizaciones preferentes los medios cobertores comprenden al menos un cristal electrocrómico.
Los medios de captura de imagen en una de las realizaciones de la presente invención comprenden una cámara con un sensor a seleccionar entre: un sensor de Si, un sensor de InGaAs, o un sensor de InSb, o cualquier otro tipo de sensor sensible a la luminiscencia emitida por el módulo fotovoltaico.
Adicionalmente, la presente invención contempla otros elementos electrónicos alojados en el interior de la carcasa, como, por ejemplo, de acuerdo a una de las realizaciones de la invención, una batería para almacenar energía y una fuente de alimentación conectada a los medios de captura de imagen. Así, ventajosamente se proporciona al sistema de inspección de la presente invención una mayor autonomía y evita su dependencia de otros dispositivos auxiliares.
En una de las realizaciones preferentes de la presente invención, se contemplan unos medios de desplazamiento del sistema por toda la superficie del panel fotovoltaico a inspeccionar, donde los medios de desplazamiento se disponen en un marco sobre el que también se disponen los medios cobertores y la carcasa. En una de las realizaciones particulares estos medios de desplazamiento consisten en un juego de ruedas de material blando dispuestas en la parte inferior del marco. Así, ventajosamente, el equipo de inspección puede recorrer el panel sin provocar ningún daño ni rayón, ya que los medios de desplazamiento son el único contacto físico que recibe el panel fotovoltaico durante una operación de inspección.
Opcionalmente, se contempla una tapa superior en la carcasa, donde dicha tapa está unida al resto de la carcasa mediante unos medios pivotantes de tipo bisagra que permiten su apertura. Así, ventajosamente pueden protegerse los componentes electrónicos alojados en el interior de la carcasa, pero sin renunciar a tener acceso a ellos para sustitución o reparación, por ejemplo.
Opcionalmente, se contempla una tapa lateral en la carcasa, donde dicha tapa lateral está unida al resto de la carcasa mediante unos medios pivotantes de tipo bisagra que permiten su apertura lateral para acceder a la cámara.
En una de las realizaciones de la invención, el equipo de inspección se estructura de manera que los medios cobertores y la carcasa se disponen en planos perpendiculares entre sí. Así, pueden realizarse equipos, por ejemplo, con forma de "L" o de "T" invertida que resultan apropiados para combinar un buen efecto de sombreado sobre las células (al disponer los medios cobertores en un plano paralelo al del panel) , y una buena obtención de imágenes (al disponer la carcasa en un plano perpendicular al panel) de manera que los edios de obtención de imágenes alojados en su interior enfocan perpendicularmente a las células que se están inspeccionando.
De acuerdo a una realización particular de la invención, la configuración en forma de "T" invertida de la invención comprende comprenden un primer cristal electrocrómico dispuesto transversalmente a un lado de la carcasa y un segundo cristal electrocrómico dispuesto en un mismo plano que el primer cristal, pero en el lado contrario de la carcasa.
Alternativamente, en una de las realizaciones de la invención, la carcasa tiene una sección rectangular dimensionada para cubrir, cuando se sitúa sobre un panel fotovoltaico a inspeccionar, la mitad de al menos dos células. Así, ventajosamente, el equipo de inspección puede reducir el tiempo y la longitud de los desplazamientos necesarios para inspeccionar el panel completo al obtener imágenes de varias células al mismo tiempo.
Un segundo aspecto de la invención se refiere a un método para inspeccionar un panel fotovoltaico que comprende los pasos de:
- cubrir, por unos medios cobertores con un primer grado de opacidad, al menos una primera célula de un grupo de células del panel fotovoltaico;
- cubrir, por una carcasa, una parte de una segunda célula del grupo de células del panel fotovoltaico, donde la parte sin cubrir queda expuesta a una radiación solar; - obtener, por unos medios de captura de imagen alojados en la carcasa, una primera imagen de luminiscencia producida en la primera parte de la célula como resultado de la radiación solar recibida en la parte sin cubrir;
- modificar la opacidad de los medios cobertores a un segundo grado opacidad;
- obtener una segunda imagen de luminiscencia de la primera parte de la célula;
- obtener la variación de la luminiscencia de la segunda célula como resultado de restar la primera y la segunda imagen de luminiscencia; y
- determinar un estado de funcionamiento basado en la variación de luminiscencia obtenida.
En una de las realizaciones de la invención, cuando hay mucha luz ambiente, para eliminar mejor el ruido se contempla repetir varias veces el ciclo de captura de imágenes de luminiscencia.
En una de las realizaciones de la invención, se almacena en el microprocesador un software de tratamiento de imagen específicamente desarrollado para obtener la variación de luminiscencia de la segunda célula, basada en las imágenes de luminiscencia obtenidas para los estados de diferente opacidad de los medios cobertores y determinar un estado de funcionamiento basado en la variación de luminiscencia obtenida.
De acuerdo a una realización de la invención, para modificar la opacidad de los medios cobertores, se aplica un campo eléctrico a los medios cobertores, conmutado por medio de un relé de estado sólido, sincronizando además, por el microprocesador, las modificaciones de opacidad de los medios cobertores con la obtención de imágenes de luminiscencia.
En una de las realizaciones de la presente invención, la medida de la variación de luminiscencia en las imágenes se realiza substrayendo, pixel a pixel, las dos imágenes obtenidas con distinta opacidad de los medios cobertores, generando posteriormente una nueva imagen con el resultado de dicha resta.
Adicionalmente, la presente invención contempla: determinar una ruta de desplazamiento que, con unos medios de desplazamiento adecuados, permite a un dispositivo de inspección que comprende los medios de captura de imagen y los medios cobertores recorrer la superficie del panel fotovoltaico siguiendo la ruta programada. Así, ventajosamente se elimina la necesidad de un guiado manual del dispositivo y permite realizar una planificación óptima de los desplazamientos necesarios para la inspección del panel. En una de las realizaciones de la invención, un software específicamente desarrollado permite programar rutas de desplazamiento determinadas y cargarlas posteriormente en el microprocesador.
La medición a través de electroluminiscencia de la presente invención permite detectar posibles errores de fabricación o daños producidos durante el transporte o el montaje de los paneles de manera muy rápida y sin implicar ninguna operación adicional de desconexión de elementos que suponen riesgos para el personal y una pérdida productiva.
Además, durante toda la vida útil de los paneles fotovoltaicos, el método y sistema de la presente invención permite una monitorización mucho más frecuente de su funcionamiento en comparación con las inspecciones realizadas por los métodos tradicionales que requieren una manipulación física de los mismos, conectando equipos adicionales y/o desconectando os paneles fotovoltaicos, lo que hace que dichas inspecciones estén mucho más espaciadas en el tiempo y, por tanto, las posibilidades de detectar un fallo temprano se ven reducidas.
Adicionalmente, las medidas se realizan durante el funcionamiento del panel por lo que los resultados son más fieles al estado del panel trabajando.
BREVE DESCRIPCIÓN DE LAS FIGURAS
Para completar la descripción de la invención y con objeto de ayudar a una mejor comprensión de sus características, de acuerdo con un ejemplo preferente de realización de la misma, se acompaña un conjunto de dibujos en donde, con carácter ilustrativo y no limitativo, se han representado las siguientes figuras:
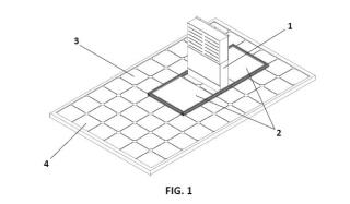
- La figura 1 representa una de las realizaciones particulares de la invención donde se dispone una carcasa dimensionada para tapar dos medias células y dos elementos cobertores de sombreado.
- La figura 2 representa una de las realizaciones particulares de la invención, donde la tapa de la carcasa en posición abierta permite observar los componentes electrónicos alojados en su interior.
- La figura 3 representa una vista en planta de una realización de la presente invención dispuesta sobre un panel fotovoltaico, con un recorrido completo de ejemplo.
DESCRIPCIÓN DETALLADA DE LA INVENCIÓN
La presente invención divulga un método y un sistema para inspeccionar paneles fotovoltaicos mediante un análisis de luminiscencia, con el panel en funcionamiento y sin alterar las conexiones de la instalación, donde la fuente de excitación utilizada es directamente la luz solar. Así, el funcionamiento básico consiste en cubrir una de las células 4 de un panel fotovoltaico 3, para limitar la corriente en las células conectadas en serie, aumentando la probabilidad de recombinación radiativa e incrementando la señal de luminiscencia emitida por las células conectadas en serie.
Para conseguir el efecto anterior, la presente invención aprovecha ventajosamente la configuración común de los paneles fotovoltaicos en series de células con diodos de protección, en los que para prevenir un malfuncionamiento de todo el panel ante la aparición de zonas sombreadas o la aparición de puntos calientes al detectar un malfuncionamiento en una cualquiera de las células, deja de circular corriente por la serie de células, desviándose ésta por el diodo de protección, permitiendo que el resto de series de células del panel fotovoltaico puedan seguir en funcionamiento normal.
En la figura 1 puede verse una de las realizaciones preferentes de la invención donde se dispone una carcasa 1, que aloja los componentes electrónicos del sistema, dimensionada para tapar simultáneamente dos medias células de un panel fotovoltaico 3, y donde el sistema comprende también un par de elementos cobertores, en este caso cristales electrocrómicos 2, uno delantero y otro trasero, para el sombreado de las células del panel fotovoltaico 3. Esta realización representada en la figura 1 está configurada para tapar, en parte, dos células por la misma razón de la que dispone de dos cristales electrocrómicos, y no es otra que la de optimizar los movimientos necesarios para realizar medidas de luminiscencia de todas las células del panel fotovoltaico, pero el funcionamiento es el mismo con una carcasa dimensionada para tapar parte de una única célula y utilizando un solo elemento cobertor.
Para captar la luminiscencia base del método de inspección y el sistema de la presente invención, de acuerdo a una de las realizaciones preferentes, el sistema dispone de una cámara, que preferiblemente dispone de un sensor de InGaAs, que detecta la emisión de luminiscencia provocada en la parte de la célula que está siendo cubierta (o lo que es lo mismo, la parte de la célula que no está siendo expuesta directamente al sol) del panel en funcionamiento, causada por la excitación que provoca la exposición directa a la luz solar de la otra parte de la célula.
En la figura 2, se muestra una tapa superior 21 de la carcasa 1 que, en posición abierta permite observar los principales componentes electrónicos del sistema. En una de las realizaciones, el sistema cuenta con una fuente de alimentación 22 para alimentar la cámara 23, una batería 24, un microprocesador 25 y un relé de estado sólido 26. Para tener acceso al objetivo de la cámara, en la parte inferior de la carcasa se dispone una tapa lateral 27.
El diseño de la carcasa 1 tiene una sección de geometría rectangular dimensionada para tapar al menos media célula, de manera que la cámara 23 se dispone en el interior enfocando perpendicularmente hacia la parte de la célula que se encuentra cubierta por la propia carcasa. Esta parte sobre la que enfoca la cámara no está siendo excitada por la luz del sol, pero las corrientes causadas por el efecto fotoeléctrico que produce la luz del sol en la parte de la célula que no está cubierta por la carcasa son las que provocan la luminiscencia que capta la cámara.
La luminiscencia se observa cuando los pares electrón hueco se recombinan de forma radiativa en cantidad suficiente. Dicha recombinación radiativa se puede aumentar exponiendo el panel fotovoltaico al sol y a la vez limitando la corriente en un grupo de células conectadas en serie. De esta manera, se limita la separación de los pares fuera de la célula solar, aumentando la recombinación radiativa y por tanto incrementándose la emisión de luminiscencia en la célula entera, lo que posibilita la observación de la luminiscencia en la zona inspeccionada.
La limitación de la corriente en un grupo de células del panel fotovoltaico se produce como consecuencia del sombreado de una célula, de manera que al recibir ésta menos radiación del sol, produce menos corriente que en el resto de las células no sombreadas. La célula sombreada se comporta entonces como un diodo en inversa que impide el paso de una corriente mayor de la que produce. Para evitar este efecto, los paneles fotovoltaicos cuentan generalmente con diodos de protección o diodos de bypass que protegen al panel fotovoltaico de los efectos que se producen por los puntos calientes y sombreados, que afectan negativamente al rendimiento del panel al obligar a una célula sombreada a disipar potencias tan elevadas que derivan en un deterioro de dicha célula. Esta situación es la que resuelve los diodos de protección, los cuales se instalan en paralelo con un grupo de células conectadas en serie y ofrecen así un camino alternativo a la corriente en caso de fallo. Por ejemplo, según la configuración más habitual de los paneles actuales, en la que éstos se dividen en tres grupos de células en serie, un defecto en una célula afecta a solo un tercio del panel y deja los otros dos tercios funcionando normalmente.
El método y el sistema de la presente invención aprovechan esta configuración de los paneles fotovoltaicos con diodos de protección para limitar la corriente en un grupo de células del panel fotovoltaico 3 sombreando alguna de ellas mediante un elemento cobertor, simultáneamente, cubrir con la carcasa 1 la mitad de la superficie de una célula bajo análisis del mismo grupo de células, de manera que la mitad cubierta queda enfocada por la cámara 23 para recoger una imagen de la luminiscencia que se produce. Por ejemplo, en el caso de un panel dividido en tres grupos de células, sombreando una célula (a la que en este documento también se hará referencia como célula de control) , se limita la corriente en un tercio de las células del panel. Al limitar la corriente, se dificulta la separación de los pares electrón hueco, favoreciendo el incremento de la recombinación radiativa aumentando la emisión de luminiscencia.
Para el sombreado de la célula de control, se emplea un elemento cobertor que, en una de las realizaciones preferentes, es un cristal electrocrómico. Los cristales electrocrómicos funcionan básicamente variando la orientación de sus fibras en función de la aplicación de un campo eléctrico, lo que permite modificar su opacidad. En la presente invención, el campo eléctrico que varía la opacidad del cristal electrocrómico 2 es controlado con el relé de estado sólido 26.
La cobertura de células mediante cristales electrocrómicos proporciona un alto nivel de fiabilidad a la presente invención, ya que permite contrastar las imágenes tomadas por la cámara bajo dos condiciones diferentes de opacidad controladas y obtenidas consecutivamente con un intervalo de tiempo muy corto, lo que minimiza los efectos de la gran variabilidad de la luz solar que se filtra por la carcasa y se mezcla con la emisión de luminiscencia.
El método de la presente invención obtiene cada una de las imágenes en dos estados diferentes, un primer estado con el cristal electrocrómico polarizado, en la que hay una menor opacidad y un segundo estado con el cristal electrocrómico sin polarizar, en el que la opacidad es mayor. En el estado en el que el cristal electrocrómico está más opaco, se limita más la corriente, por lo que se produce más recombinación radiativa en la zona inspeccionada, lo que conlleva una mayor emisión de luminiscencia que en el estado polarizado del cristal electrocrómico.
Una vez se han obtenido las dos imágenes de luminiscencia correspondientes a los dos estados de diferente opacidad, se procede a restar dichas imágenes para obtener la luminiscencia emitida por la célula.
El resultado de restar las imágenes es la eliminación del ruido debido a la propia luz solar, obteniendo la luminiscencia resultante. El microprocesador 25 está configurado para recibir las dos imágenes captadas por la cámara 23, y obtener una nueva imagen que es el resultado de restar pixel a pixel las dos imágenes.
Para obtener unos resultados de mayor calidad y fiabilidad, es conveniente realizar varios ciclos de imágenes para prevenir que la variabilidad de las condiciones atmosféricas influya en el resultado de la inspección de la luminiscencia. En dichos ciclos se sincronizan la captura de la cámara y la opacidad del cristal electrocrómico. La opacidad del cristal está controlada por el relé 25, mientras que el microprocesador 25 controla su sincronización con las capturas de la cámara 23. A continuación se realiza el procesado de las imágenes para obtener la imagen definitiva, la cual está compuesta realmente de valores relativos que se derivan del procesado descrito anteriormente de los niveles de gris de las imágenes tomadas.
Una realización alternativa de la presente invención, en lugar de cristales electrocrómicos como elementos cobertores, comprende una pantalla con tecnología de transistor de película delgada TFT, la cual proporciona una mayor opacidad que los cristales electrocrómicos.
En la figura 3 se observa el sistema de la presente invención desde una perspectiva en planta, donde el sistema se ha dispuesto sobre un panel fotovoltaico 3 a inspeccionar. En la posición inicial, es suficiente que uno de los cristales electrocrómicos elementos cobertores tape alguna célula, pero la realización mostrada con dos cristales minimiza los desplazamientos necesarios, permitiendo además la inspección de las filas de células situadas en la parte superior e inferior de la mesa soporte de los módulos. El panel fotovoltaico se encuentra en condiciones de funcionamiento normales mientras el sistema realiza la inspección, sin necesidad de desconectar los paneles y de que intervenga personal especializado para realizar acciones adicionales. El sistema de la presente invención se desplaza por el panel siguiendo el recorrido en zigzag indicado por las flechas 31 (aunque podría seguirse cualquier otro recorrido, pero por cuestiones de eficiencia será más conveniente definir el recorrido más corto posible) .
El desplazamiento del sistema de inspección de la presente invención sobre el panel fotovoltaico se realiza con un mínimo contacto físico entre ellos, donde preferiblemente todo el contacto se limita a unas ruedas (no representadas en las figuras) de material blando que evitan rayar el panel. Sobre dichas ruedas se dispone un marco 28 que sostiene los elementos cobertores 2 en un plano perpendicular al de la carcasa y que, a la vez, durante la operación de inspección, se disponen en un plano paralelo al del panel fotovoltaico 3.
En la presente invención, se dispone por tanto de un equipo compacto y autónomo de inspección que incorpora todos los elementos necesarios para realizar la toma de imágenes de luminiscencia de las células de un panel fotovoltaico que recorre completamente para su caracterización completa. Una vez finalizada la inspección del panel fotovoltaico, la información recogida por el equipo de inspección es un conjunto de imágenes de luminiscencia relativas (se obtienen de la resta de las imágenes de luminiscencia bajo dos condiciones diferentes de opacidad del elemento cobertor) que representan medidas de la variación de luminiscencia de cada una de las células, variación generada gracias a que se ha forzado sobre su grupo de células una zona sombreada mediante un elemento cobertor.
A partir de la información de variación de luminiscencia para cada una de las células, el panel fotovoltaico queda caracterizado completamente y resulta sencillo conocer su estado e identificar cualquier malfuncionamiento en él. Por un lado, la intensidad relativa de la señal está asociada directamente con el estado del panel, en la medida en que cuanto más "luminosa" resulta la imagen, más luminiscencia está emitiendo la célula y mejor es el estado del panel. Además, se pueden observar zonas en las que hay variaciones de la señal emitida que se corresponden con diferentes tipos de defectos como roturas, zonas aisladas eléctricamente y otros, que pueden aparecer en los paneles solares.
La presente invención no debe verse limitada a la forma de realización aquí descrita. Otras configuraciones pueden ser realizadas por los expertos en la materia a la vista de la presente descripción. En consecuencia, el ámbito de la invención queda definido por las siguientes reivindicaciones.