TRAVIESAS DE FERROCARRIL PRETENSADAS CON PRETENSADO TRANSVERSAL
CAMPO TÉCNICO DE LA INVENCIÓN
La presente invención se enmarca en el campo de la construcción de vías férreas. Concretamente en el de las traviesas o durmientes con armaduras que han sido pretensadas.
ANTECEDENTES DE LA INVENCIÓN
Fisuración longitudinal en traviesas de hormigón
El problema de fisuración longitudinal en traviesas de hormigón pretensado es un problema muy conocido y aún no solucionado satisfactoriamente. Esto provoca innumerables problemas tanto a fabricantes como a la propiedad de las vías ferroviarias, e indirectamente a los usuarios. Esto lo prueba el hecho de los numerosos casos publicados de patologías existentes a nivel internacional y la cantidad de sistemas de patentes que intentan solucionar el problema.
Las traviesas contienen perforaciones pasantes (agujeros) , donde se ubican los tirafondos que fijan la vía a la traviesa, y durante el proceso de pretensado se producen esfuerzos de tracción en la parte del agujero cuyo plano tangente es perpendicular a la dirección del pretensado.
La tensión que provoca la fisuración (esfuerzo de ruptura f o tensión característica a tracción fctk) es un valor que en la práctica tiene mucha dispersión, muchísima más que la resistencia a compresión, y en general no es conveniente fiar la estabilidad de una estructura de hormigón al valor de su resistencia a tracción.
Los valores de tracción en el exterior de los agujeros de las traviesas, que se producen como consecuencia del pretensado longitudinal, son suficientes para provocar fisuración en la traviesa, y de hecho es una patología conocida.
La fisuración en este caso no es un estado límite de servicio sino un estado límite de último y como tal debe ser tratado, con coeficientes de seguridad propios de un estado último. Bajo este punto de vista muchas traviesas no cumplirían bajo el par de apriete que debe de dársele al tirafondos.
La deformación que sufre la traviesa cuando se la somete a las cargas de pretensado es elevada y hace que muchos sistemas que proponen armadura pasiva, como los que emplean espirales en torno a la vaina del tirafondos, no sean aconsejables. El sistema de ostesado generaría tensiones internas en el hormigón en la zona de contacto con el acero en espiral. En elementos pretensados se evita la armadura longitudinal pasiva, entre otros motivos, por los esfuerzos internos que pueden aparecer a la hora de compatibilizar deformaciones.
Debido a que en general la traviesa no tiene armadura pasiva transversal que reciba los esfuerzos de tracción que el hormigón deja de resistir cuando aparezca la fisura, cualquier fisura tiende a arruinar la traviesa. El pretensado longitudinal, sin ninguna otra medida, hace que la traviesa sea débil desde su inicio, si además se tiene en cuenta que en el agujero va instalada una vaina donde se atornilla el tirafondo que sujeta la vía el sistema en sí es un sistema débil.
Además de este problema la vaina instalada en la traviesa, donde se aloja el tirafondo, puede ser de un material no compatible con el hormigón (diferentes coeficientes de dilatación térmica) , lo que en ciclos de temperatura puede aumentar las tensiones de tracción debidas al pretensado. Existen vainas para tirafondos cuyo exterior queda aislado del contacto con el hormigón mediante una holgura que absorbe la dilatación, no obstante esto puede ser cuestionado, dado que durante la instalación del tirafondo esa holgura se puede haber absorbido. De esta forma la traviesa sería válida en su recepción pero no durante su funcionamiento.
Soluciones conocidas
La primera aplicación del preesfuerzo a una estructura consistió en tratar de mantener unidos bloques de hormigón usando un tirante atornillado en sus extremos. Este uso se debe a P. H. Jackson en EE. UU., el año 1886. Bloque de concreto con cable enroscado mediante tuerca; primera patente en concreto pretensado. En 1928 el ingeniero francés Eugéne Freyssinet fue el primero en exponer la metodología para la valoración de las pérdidas dentro del cálculo estructural. Más tarde en 1940 introdujo el primer sistema de preesfuerzo con anclajes y cuñas.
Posteriormente, se han descrito otras soluciones que plantean refuerzos a la armadura activa longitudinal, como [KR20100000452], que describe una traviesa de hormigón reforzado con una o más barras y cables de hierro transversales situadas en la parte inferior del cuerpo de la traviesa.
No obstante, ninguna de las soluciones identificadas por el solicitante describe una traviesa que comprende una armadura activa transversal pretensada, siendo los cables longitudinales los únicos elementos pretensados.
OBJETO DE LA INVENCIÓN
La presente invención se refiere a un nuevo tipo de traviesas de ferrocarril que incorporan un pretensado transversal, que permite evitar zonas de tracción en toda la traviesa, en especial en la zona donde se ubican las vainas para tirafondos y los tirafondos, y así prevenir la fisuración longitudinal de la traviesa (Figura 1) .
La nueva traviesa comprende, además del pretensado longitudinal que tienen este tipo de traviesas, una pluralidad de armaduras activas (Figura 2) que generan un pretensado transversal, situadas cerca de las vainas para los tirafondos y perpendiculares a ellas, de forma que entre ambos pretensados, transversal y longitudinal, actuando conjuntamente, se genera una zona sin tracciones en el entorno de la vaina.
Un segundo aspecto de la invención se refiere al procedimiento de construcción de este tipo de traviesas.
BREVE DESCRIPCIÓN DE LAS FIGURAS
Figura 1.- Traviesa típica de hormigón pretensado (1) , que soporta la vía ferroviaria (2) . Dicha traviesa está fisurada y en ella se puede ver la fisura típica longitudinal (4) , provocada por las tracciones inducidas por el pretensado longitudinal (3) .
Figura 2.- Representación del pretensado longitudinal en traviesas pretensadas. (5) representa las fisuras provocadas por la vaina que aloja el tirafondo de fijación.
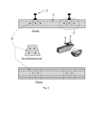
Figura 3.- Representación del pretensado transversal objeto de la invención. (6) representa las armaduras activas transversales.
Figura 4.- Representación de una solución preferente del objeto de la invención. (6) representa la armadura activa transversal dispuesta en un encoofrado perdido (7) , que comprende un tubo de goma para evitar la adherencia (8) , una tuerca en uno de los extremos (9) y una arandela gruesa (10) .
DESCRIPCIÓN DE LA INVENCIÓN.
Definiciones
El término general "hormigón pretensado" hace referencia tanto al hormigón pretesado como al hormigón postesado. En particular, se denomina hormigón postesado a quel hormigón que se somete, después del vertido y fraguado, a esfuerzos de compresión por medio de armaduras activas. A diferencia del hormigón pretesado, en el que las armaduras se tensan antes del hormigonado, en el postesado las armaduras se tensan una vez que el hormigón ha adquirido la resistencia prevista para la transmisión de fuerzas de pretensado.
El término "armadura activa" se refiere a armadura pretensada, ya sea pretesa o postesa. En una realización particular se entenderá un conjunto de elementos que comprenden un vástago situado en el interior de una vaina y medios de anclaje para mantener fijos sus extremos. Preferentemente, la armadura activa comprenderá también una vaina o medios que mantengan el vástago fuera del contacto con el hormigón.
A diferencia de la armadura pasiva usada en hormigón armado, las armaduras activas pueden no estar directamente en contacto con el hormigón en el momento del hormigonado. Para lograr este efecto las armaduras se colocan dentro de vainas de plástico o metal. Estas vainas se posicionan dentro del encofrado (el molde) formando una línea curva definida en la fase de diseño, en función de la forma de la pieza y de las cargas a las que estará sometida. Una vez que a las armaduras activas se les ha aplicado la tensión de trabajo, se anclan a la estructura mediante piezas especiales en sus dos extremos.
En el sistema de armadura "adherente", se rellena el interior de las vainas con mortero de alta resistencia a presión, de manera que la armadura queda adherida al hormigón formando una sección monolítica. A su vez, el mortero asegura la protección del acero frente a la corrosión. En el sistema "no adherente", las vainas no se rellenan, por lo que el único contacto entre el tendón y el hormigón se produce a través del cabezal de anclaje.
A lo largo de la descripción y las reivindicaciones el término "comprende" también podrá interpretarse, en una realización particular, como "consiste en". El término "comprende" y sus variantes no pretenden excluir otras características técnicas, aditivos, componentes o pasos. Para los expertos en la materia, otros objetos, ventajas y características de la invención se desprenderán en parte de la descripción y en parte de la práctica de la invención.
Traviesa de la invención
En un primer aspecto, la presente invención se refiere a una traviesa de hormigón pretensado que presenta al menos una armadura activa longitudinal, en adelante "traviesa de la invención, y que comprende al menos dos armaduras activas transversales.
El pretensado transversal, junto con el pretensado longitudinal, mantienen sometida a toda la traviesa, y en especial la zona de los orificios en los que se ubican los tirafondos de sujeción del rail a la traviesa, a un estado de tensiones de compresión que permite evitar que se produzcan fisuras longitudinales.
El pretensado transversal se realiza de forma que las zonas en torno a los orificios para fijación de tirafondos nunca entren en valores de tracción, contando con el pretensado longitudinal, con la dilatación de la vaina donde se alojan los tirafondos y con un par de apriete que supere al par de diseño con un coeficiente de seguridad propio de un estado límite último.
De forma preferente, la distancia entre cada armadura activa transversal y las vainas donde se alojan los tirafondos es menor que la altura de la traviesa (principio de Saint-Venant) .
En otra realización particular, la traviesa de la invención comprende al menos 2 (n/2 +1) armaduras activas transversales, siendo n el número de orificios para fijación de tirafondos.
En otra realización, la armadura activa transversal comprende, en al menos uno de sus extremos, medios que permite aumentar la tensión tras el fraguado.
Un ejemplo de estos medios consiste en una punta roscada en un extremo del vástago y una tuerca que, al girar, incrementa o reduce la tracción (Figura 4) .
Preferentemente, uno de los extremos de la armadura activa transversal está embutido en el interior de la traviesa, mientras que el segundo extremo comprende medios que permiten aumentar la tensión tras el endurecimiento del hormigón.
Procedimiento de construcción de traviesas de la invención
También es objeto de la presente invención un procedimiento de construcción de traviesas de hormigón pretensado que comprenden armaduras activas longitudinales y transversales, que comprende la colocación de las armaduras activas transversales antes del fraguado de hormigón, de forma que al menos uno los extremos de cada armadura activa transversal quede anclado en el interior del hormigón.
De esta forma, parte del tesado de dichas armaduras transversales se produce cuando la armadura longitudinal activa es liberada e incrementa el tamaño de la sección transversal por efecto Poisson.
En una realización particular, la colocación de las armaduras activas transversales se realiza de forma que ambos extremos de la armadura activa transversal queden anclados en el interior del hormigón.
En otra una realización particular, la armadura activa transversal comprende medios que permitan aumentar su tensión tras el endurecido del hormigón, de forma que el tesado por efecto Poisson constituye una primera fase del tesado y permite terminar de tesar tras el desmolde.
MODOS DE REALIZACIÓN
Una forma de llevar a cabo la invención (Figura 3) , no exclusiva, se realizó empleando como armadura transversal mediante varias barras de postesado (6) . Esta tendría una cabeza en uno de los extremos. Esta barra de postesado irá colocada junto con la armadura activa longitudinal antes del hormigonado. La barra de postesado (6) tendrá (Figura 4) una cabeza y un tubo de goma para evitar la adherencia al hormigón (8) junto con una arandela gruesa (10) y una tuerca en el otro extremo (9) y se confeccionó emplando un enconfrado perdido (7) que se extrae para poder proporcionar un par de apriete a la tuerca (9) y aumentar la tensión de la armaduda.
La fuerza de tesado se transmite en dos fases. La primera fase se produce como consecuencia de tesar longitudinalmente. Por efecto Poisson la traviesa crece transversalmente mientras que la barra (6) se lo impedirá. Esto constituye la primera fase de postesado. La segunda fase se produce mediante un par de apriete aplicado sobre la tuerca (9) fijada en uno de los extremos de la armadura. Dicho par de apriete se calculará en función de la vaina donde se alojan los tirafondos, del par de apriete sobre el tirafondo, de la retracción del hormigón y del gradiente térmico que soportará la traviesa.