CERCHA DE MADERA ASERRADA
OBJETO DE LA INVENCIÓN
La presente invención se encuadra en el campo técnico de los elementos de construcción de forma alargada concebidos para soportar cargas, más concretamente en el de aquellos elementos de madera de alma discontinua, y se refiere en particular a una cercha de madera aserrada cuyos pares están compuestos por una pluralidad de bloques vinculados entre sí.
ANTECEDENTES DE LA INVENCIÓN
El uso de madera aserrada en edificación es ampliamente conocido en el estado de la técnica. Se denomina madera aserrada estructural a la utilizada para fines portantes y que ha sido sometida a un procesado mínimo de transformación que no incluye ni encolados ni ensambles de unión dentada, y que se obtiene únicamente mediante aserrado longitudinal del tronco y cepillado. En comparación con otros productos de madera, conlleva numerosas ventajas en cuanto a costes, disponibilidad, versatilidad, bajo consumo energético, mejor balance neto de emisiones de gases de efecto invernadero, impulso de la industria de la madera integrada en el territorio, uso de producto local, etc.
Sin embargo, una de las mayores limitaciones que presenta la madera aserrada se deriva de su longitud, que impide aportar soluciones sencillas para grandes luces estructurales. En concreto, los elementos que condicionan la longitud de una cercha son los pares que, a su vez, están condicionados por la longitud máxima de las piezas de madera aserrada con las que se construyen. Los pares trabajan normalmente a flexión, y lo más conveniente es que estén formados por una única pieza, ya que la transmisión de momentos flectores entre dos piezas de madera adyacentes requiere del diseño de uniones complejas y costosas.
La sección de las piezas que componen los pares también limita las prestaciones de la cercha. Por un lado la sección resistente viene condicionada por el diámetro de los árboles de los que se extraen y por la capacidad de la sierra, y por otro lado, la utilización de grandes secciones enterizas acarrea dificultades de secado y una mayor aparición de fendas y deformaciones, ituación especialmente relevante cuando se requiere, como es habitual en pares de una pieza, una sección enteriza que incluya la médula.
Se conocen en el actual estado de la técnica cerchas de madera aserrada cuyos pares están constituidos por una única pieza maciza, así como otras cerchas que presentan pares realizados mediante una única pieza de madera laminada.
DESCRIPCIÓN DE LA INVENCIÓN
El objeto de la invención consiste en una cercha en la que se combinan varias piezas individuales de madera aserrada para conformar los pares de la cercha. Las piezas individuales se unen entre sí mediante elementos de fijación mecánica, tales como tirafondos estructurales o similares, posicionados en función del tipo de cercha, de la sección resistente y de la distribución de tensiones a lo largo del par, lo cual permite utilizar varias piezas de madera aserrada de tamaño comercial para conformar pares compuestos en cerchas de grandes luces, lo que facilita la construcción de cerchas de grandes luces con madera aserrada de una forma sencilla y optimizando su comportamiento, eliminando además la necesidad de transmitir el momento flector.
De acuerdo con un primer aspecto de la invención, se optimizan las piezas de madera aserrada en cuanto a sus secciones y longitudes, así como los elementos de transferencia de esfuerzos entre piezas en cuanto a su número, longitud, posición y ángulo, para adaptarse a la distribución real de tensiones sin necesidad de que el usuario realice ningún cálculo.
El tirante de la cercha normalmente trabaja a tracción, por lo que dicho elemento se puede resolver mediante la unión de piezas de madera, o de productos derivados de la madera, y/o acero con los sistemas constructivos habituales en estos casos.
La invención reivindica una cercha de madera aserrada con pares compuestos por dos líneas de elementos o cordones paralelos y superpuestos entre sí de madera maciza estructural, donde las piezas de un cordón y otro permanecen en contacto a través de sus cantos, y las piezas del mismo cordón, a través de sus testas.
La presente invención aporta una gran variedad de ventajas adicionales, de entre las que cabe estacar en primer lugar una mayor facilidad de mecanización, transporte y manejo ya que se utilizan elementos más cortos, de menor sección y, por tanto, mucho más ligeros.
Asimismo, la utilización de secciones menores permite un control de la humedad más rápido y homogéneo en toda la sección transversal. El montaje no requiere de condiciones ambientales especiales ni una ejecución realizada por operarios altamente cualificados.
Finalmente, la invención permite multiplicar, al menos duplicar, la luz que cubre la estructura, así como reducir el tamaño de los elementos de madera aserrada, mediante el empleo de piezas disponibles en la mayoría de las industrias de la madera sin necesidad de realizar cálculos estructurales que habitualmente se escapan de sus competencias técnicas, y sin necesidad de realizar inversión en equipamiento, por lo que se puede usar la invención sin preocuparse por un periodo o producción de amortización ni controlar las condiciones ambientales de fabricación.
DESCRIPCIÓN DE LOS DIBUJOS
Para complementar la descripción que se está realizando y con objeto de ayudar a una mejor comprensión de las características de la invención, de acuerdo con un ejemplo preferente de realización práctica de la misma, se acompaña como parte integrante de dicha descripción, un juego de dibujos en donde con carácter ilustrativo y no limitativo, se ha representado lo siguiente:
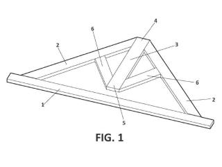
Figura 1.- Muestra una vista en perspectiva de la cercha de pares compuestos, en la que se aprecian sus principales elementos constituyentes.
Figura 2.- Muestra una vista en perspectiva de un par compuesto de la cercha, del que se extrae el detalle de uno de los bloques individuales que lo conforman.
Figura 3.- Muestra una vista frontal de un corte transversal realizado en el par compuesto de la figura 2.
REALIZACIÓN PREFERENTE DE LA INVENCIÓN
Seguidamente se proporciona, con ayuda de las figuras anteriormente referidas, una explicación detallada de un ejemplo de realización preferente del objeto de la presente invención.
La cercha de madera aserrada que se describe, mostrada esquemáticamente en la figura 1, está conformada por un tirante (1) del cual parten oblicuamente dos pares (2) , un pendolón (3) perpendicular al tirante (1) , el cual presenta un primer extremo (4) al que se vinculan los respectivos extremos libres de cada uno de los pares (2) y un segundo extremo (5) libre del que parten oblicuamente dos tornapuntas (6) que vinculan a dicho pendolón (3) con cada uno de los pares (2) .
Como se observa en la figura 2, cada uno de los pares (2) comprende un primer cordón (7) superior y un segundo cordón (8) inferior vinculado y superpuesto al primer cordón (7) , estando cada uno de dichos cordones (7, 8) conformados a su vez por una pluralidad de bloques (9) de madera aserrada, de geometría esencialmente prismática rectangular y dimensiones similares entre sí.
Cada bloque (9) presenta unos cantos (10) y unas testas (11) , de forma que cada cordón (7, 8) está conformado por una pluralidad de bloques (9) alineados y con las respectivas testas (11) en contacto entre sí, de modo que se transmiten esfuerzos de compresión por contacto, pero sin necesidad de vinculación mecánica efectiva ni la necesidad de elementos mecánicos que absorban la tracción, y el par (2) se conforma por la unión superpuesta del primer cordón (7) y el segundo cordón (8) por los cantos (10) de sus respectivos bloques (9) . En la realización preferente aquí descrita, el primer cordón (7) comprende tres bloques (9) unidos entre sí, mientras que en segundo cordón (8) comprende dos bloques (9) .
Como ya se ha indicado, los bloques (9) que conforman cada cordón (7, 8) están en contacto entre sí por sus respectivas testas (11) , dando lugar a unas discontinuidades (12) , como se observa en la figura 2, localizadas en función de la distribución de momentos flectores que debe soportar el par (2) . En cada una de dichas discontinuidades (12) de los cordones (7, 8) se insertan unos primeros medios de unión (13) , cuya misión es el posicionamiento y acercamiento de las respectivas testas (11) , que en esta realización preferente son unos irafondos estructurales de doble rosca en los que cada uno de sus extremos, con un paso de rosca diferente, se inserta en la testa (11) de dos bloques (9) consecutivos para asegurar su contacto continuado. En la figura 3 se ilustra la orientación oblicua de dichos primeros medios de unión (13) oblicuos respecto a una horizontal (LH) definida por los cantos (10) en contacto de ambos cordones (7, 8) .
El primer cordón (7) y el segundo cordón (8) se vinculan entre sí por uno de los cantos (10) de sus respectivos bloques (9) , de forma que quedan dispuestos uno encima de otro y alineados, con una longitud similar. Para asegurar la unión entre cordones (7, 8) , se insertan una pluralidad de segundos medios de unión (14) , que en la realización preferente aquí descrita son unos tirafondos estructurales.
Dichos segundos medios de unión (14) , de unas dimensiones superiores a las de los primeros medios de unión (13) , son pasantes a los bloques (9) del primer (7) y segundo cordón (8) , y se disponen oblicuos respecto a la horizontal (LH) y agrupados. Una primera agrupación (15) vincula un primer bloque (9) del primer cordón (7) con un primer bloque (9) del segundo cordón (8) , y en dicha primera agrupación (15) los tirafondos, paralelos entre sí, se disponen con un ángulo de 45° respecto a la horizontal (LH) .
Una segunda agrupación (16) vincula al tercer bloque (9) del primer cordón (7) con el segundo bloque (9) del segundo cordón (8) ; esta segunda agrupación (16) comprende una pluralidad de tirafondos paralelos entre sí y orientados -45° respecto a la horizontal (LH) .
El bloque (9) central del primer cordón (7) se superpone a los dos bloques (9) que conforman el segundo cordón (8) . La tercera agrupación (17) comprende en primer lugar un primer conjunto (18) de tirafondos orientados -45° respecto a LH en la zona de contacto del bloque central (9) con el primer bloque (9) del segundo cordón (8) , y en segundo lugar un segundo conjunto (19) de tirafondos, orientados 45° respecto a LH en la zona de contacto del bloque central (9) con el segundo bloque (9) del segundo cordón (8) .
Los pares (2) tienen las discontinuidades (12) , que son las zonas de unión entre bloques (9) , de cada cordón (7, 8) posicionadas en función de la distribución de momentos flectores a lo largo del par (2) , y de la longitud de dicho par (2) . La sección del par (2) resultante absorbe los momentos flectores máximos mediante la disposición de una zona continua del cordón (7, 8) orrespondiente en la zona de tracción, aprovechando la zona de compresión para posicionar la transición entre bloques (9) mediante una zona discontinua del cordón (7, 8) correspondiente, pero con contacto continuo en las testas (11) de sus bloques (9) constituyentes, y por tanto con capacidad de transmisión de esfuerzos de compresión. Esta distribución de zonas continuas y discontinuas de los cordones (7, 8) se observa en la figura 2.
Las discontinuidades (12) del segundo cordón (8) o cordón inferior se localizan en el entorno del punto con máximo momento negativo, mientras que en el primer cordón (7) o cordón superior se sitúan en el entorno del punto con valor medio del momento positivo.
Se contempla asimismo que la disposición de los anillos de crecimiento y la posición de la médula de cada uno de los bloques (9) se posicionen para maximizar la resistencia y minimizar las deformaciones estructurales, tanto elásticas como plásticas, así como las causadas por variaciones en el contenido de humedad de la cercha.
En una segunda realización, no mostrada en las figuras adjuntas, la cercha comprende más de dos tornapuntas (6) , es decir, más de un tornapuntas (6) para cada uno de los pares (2) . De acuerdo con esta segunda realización, para cada uno de los pares (2) , el primer cordón (7) está formado por un número de bloques (9) igual al número de tornapuntas (6) en los que se apoya dicho par (6) más dos, mientras que el segundo cordón (8) está formado por un número de bloques (9) igual al número de tornapuntas (6) en los que se apoya cada par (2) más uno; siguiendo la regla general previamente explicada para la primera realización. Del mismo modo, las testas (11) de los diferentes bloques (9) consecutivos de cada cordón (7, 8) se encuentran posicionadas y en contacto entre sí gracias a los primeros medios de unión (13) . La distribución de las discontinuidades (12) entre los bloques (9) de cada cordón (7, 8) sigue el criterio anteriormente explicado.
En el caso de la cercha española en la que hay un tornapuntas (6) por cada par (2) , la cercha de madera aserrada de la invención comprende tres bloques (9) consecutivos formando el primer cordón (7) y comprende dos bloques (9) consecutivos formando el segundo cordón (8) .
Adicionalmente, se contempla la opción de que los bloques (9) sean de diferente sección para optimizar el volumen de material empleado y el comportamiento estructural del conjunto.