HERRAMIENTA PARA PODA EN ALTURA
Campo de la invención
La presente invención se refiere a una herramienta para poda en altura, que está compuesta por un cabezal de corte que va montado en el extremo de una pértiga. La invención cae dentro del ámbito de las herramientas forestales de corte y, en particular, de las herramientas manuales de poda, por ejemplo, para la poda de árboles caducifolios, tales como chopos, cerezos, fresnos, etc.
En el campo de aplicación de útiles de poda en altura, el uso de cuchillas o serruchos acoplados a pértigas fijas y/o telescópicas es de uso común. Para posibilitar la poda desde el suelo sin necesidad de recurrir a escaleras o elevadores es bien conocido en el sector agrario el acople en el extremo superior de pértigas de tijeras, sierras, tronzadoras y cuchillas con sistemas de tracción basados en sistemas de accionamiento remoto por cordones. También es generalizado el uso de cabezales de cadena de motosierra o cuchillas accionadas desde el suelo por motores eléctricos o de dos tiempos.
Mecanismos como los anteriormente citados se describen por ejemplo en la ES292653, ES2066428, ES2047568, US5084975, EP0895712, ES2364798T3, WO2008010080A2, US-A-4194542.
En el campo de aplicación de la agricultura se conoce desde antiguo la "márcola": hasta de unos dos metros y medio de largo, que lleva en la punta un hierro a manera de formón, con un gancho lateral en forma de hocino. La consistencia y peso de estas herramientas es elevada y acorde a labores de roza en sevicultura.
En general, los mayores inconvenientes para la poda de formación de especies forestales de las soluciones arriba expuestas son:
- Peso elevado, que imposibilita la ejecución de cortes precisos en la poda de formación.
- Peso elevado que implica fatiga en el operario.
- La complejidad de construcción, en particular para sistemas con cordón y poleas de transmisión, y para las cadenas de sierra acopladas a motores.
- El enredo fácil del cordón de tensado entre las poleas formadas generalmente de múltiples canales con más de un giro de multiplicación.
- Mantenimiento complejo con numerosos elementos de acople, autogiro y transmisión, frecuentemente de complicado desmontaje y fijación.
Descripción de la invención
La presente invención se refiere a una herramienta para la poda en altura, del tipo compuesto por un cabezal de corte que va montado en el extremo de una pértiga y tiene por objeto proporcionar una herramienta con un cabezal multiusos de poda en altura, acoplado al extremo de la pértiga, de constitución, funcionamiento y manejo sencillos, que permite obtener una mayor fiabilidad en la operación de poda, simplificar dicha operación de poda y reducir las necesidades de mantenimiento de la herramienta.
La herramienta de la invención está especialmente indicada para la poda de formación de especies forestales en las que el diámetro de las ramas a podar suele ser inferior a 4 cm.
La herramienta de la invención está compuesta por un cabezal de corte plano, montado en el extremo de la pértiga, y por un brazo guía. El cabezal está constituido por una placa resistente, de naturaleza metálica, que presenta una serie de frentes de corte, rectos y curvos. El brazo guía es paralelo y próximo a la placa que conforma el cabezal de corte y está montado en la pértiga con facultad de desplazamiento a lo largo de la misma.
Según una forma preferida de ejecución, la placa que conforma el cabezal de corte presenta dos bordes longitudinales de corte opuestos, uno de trazado curvocóncavo y estructura de sierra, y el opuesto de trazado y borde cortante recto. Además, presenta un borde transversal extremo, con filo cortante recto y trazado recto o ligeramente curvo-cóncavo. Entre los bordes cortantes longitudinales rectos y transversal extremo, la placa conforma un saliente en forma de pico curvo, con un borde cortante curvo-cóncavo opuesto al borde cortante transversal extremo, configurando un gancho cortante.
En cuanto al brazo guía es de trazado en "L" invertida, y va montado a través de uno de los tramos de la "L" sobre la pértiga, mediante guías que permiten su eslizamiento longitudinal. El otro tramo de la "L" está dirigido en dirección perpendicular a la pértiga y queda próximo y paralelo a la placa.
Con esta constitución, el brazo guía sirve como medio para colgar la herramienta de la rama a podar, como paso previo al corte, permitiendo así centrar con precisión al corte.
La pértiga puede ser telescópica o de un solo tramo y puede ser de estructura maciza o tubular. El tramo del brazo guía que discurre a lo largo de la pértiga puede estar exteriormente adosado a dicha pértiga o discurrir por el interior de la misma. Además, este tramo es portador en su extremo libre de un contrapeso. Preferentemente la pértiga irá dotada de un pulsador o mando de bloqueo para el brazo guía.
Breve descripción de los dibujos
En los dibujos adjuntos se muestra un ejemplo de realización, no limitativo y susceptible de todas aquellas modificaciones que no alteren las características esenciales de la invención.
En los dibujos:
- La figura 1 muestra en alzado lateral una herramienta constituida de acuerdo con la invención.
- La figura 2 una vista similar a la figura 1 mostrando una posible variante de ejecución.
- La figura 3 una vista de la misma herramienta, según la dirección D de la figura 2.
- La figura 4 una representación esquemática del uso de la herramienta, a través de sus diferentes bordes cortantes.
Descripción detallada de un modo de realización
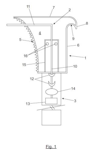
En la figura 1 se muestra una herramienta para poda en altura, constituida de acuerdo con la invención, que está compuesta por un cabezal de corte (1) y un brazo guía (2) que van montados en una pértiga (3) .
El cabezal (1) está constituido por una placa (4) resistente, de naturaleza metálica, preferentemente acerada, que en el ejemplo representado es de contorno aproximadamente trapecial recto invertido. Esta placa presenta dos bordes longitudinales de corte (5 y 6) opuestos, un borde longitudinal de corte (5) dentado y de trazado curvo-cóncavo, y un borde longitudinal de corte (6) continuo y recto. La placa dispone también de un borde transversal extremo de corte (7) de filo continuo y trazado recto o ligeramente curvo. Entre los bordes cortantes longitudinales (6) y transversal extremo (7) se conforma un pico (8) en forma de gancho invertido, con borde transversal curvo-cóncavo de corte (9) .
El brazo guía (2) , compuesto por ejemplo por una varilla, adopta forma de "L" invertida, con un primer tramo (10) que discurre a lo largo de la pértiga, por el exterior de la misma, y un segundo tramo (11) que discurre paralelo y próximo a la placa (4) , en dirección perpendicular a la pértiga (3) . El primer tramo (10) queda relacionado con la pértiga (3) mediante abrazaderas (12) que actúan como medios de guía para permitir el deslizamiento longitudinal del brazo de guía (2) respecto a la pértiga (3) .
El brazo guía (2) es portador, en el extremo del primer tramo (10) , de un contrapeso (13) . La pértiga (3) dispone de un tope o botón de bloqueo (14) que permite al usuario bloquear el movimiento longitudinal del brazo guía (2) .
La placa (4) puede ir montada sobre la pértiga (3) mediante prolongaciones (15) de la pértiga que abrazan a la placa y la fijan mediante pasadores (16) , en forma de remaches o tornillos.
En las figuras 2 y 3 se muestra una variante de ejecución en la que con las mismas referencias que en la figura 1 designan elementos o componentes equivalentes. En la realización de las figuras 2 y 3 la pértiga (3) es de estructura tubular y a través de la misma discurre, con facultad de deslizamiento, el primer tramo (10) del brazo guía (2) . Por lo demás la realización mostrada en estas figuras 2 y 3 es coincidente con la representada en la figura 1.
En la figura 4 se representan diferentes opciones de poda de ramas que permite la herramienta de la invención y en las que las diferentes flechas indican la dirección de la fuerza a aplicar para ejecutar el corte de la rama.
- Corte A: El borde longitudinal de corte (6) , figura 1, posibilita el corte recto por impacto lateral.
- Corte B: El borde transversal extremo de corte (7) , figura 1, posibilita un corte por impacto frontal. El brazo guía (2) permite apoyar la pértiga antes de ejercer el empuje. Aplicando así el corte con precisión.
- Corte C: Corte por tronzado con la sierra cóncava del borde longitudinal de corte (6) , figura 1.
- Corte D: Corte por tracción con el borde transversal curvo-cóncavo de corte (9) , figura 1.