OBJETO DE LA INVENCIÓN
La presente invención se enmarca en el campo de la instrumentación destinada a toma de imágenes geolocalizadas.
El objeto de la invención consiste en un sistema para la geolocalización 3D y orientación de tomas fotográficas terrestres realizadas desde trípode con la finalidad de automatizar la obtención de modelos tridimensionales y ortofotos de manera expedita y automática.
ANTECEDENTES DE LA INVENCIÓN
El posicionamiento directo, espacial y angular, de las cámaras fotográficas ha sido durante décadas una meta perseguida y ansiada por parte de la fotogrametría tanto aérea como terrestre que tenía que recurrir a procedimientos indirectos (topográficos) para la 20 determinación de la posición de sus cámaras. Más concretamente, había que recurrir al establecimiento de una red de puntos de apoyo y chequeo levantados por instrumental y personal topográfico que permitiese resolver la indeterminación de la posición de los puntos de vista de la cámara y por tanto el problema de intersección inversa. Con el paso de los años y la evolución de la tecnología esta indeterminación, más acusada en el caso de las 25 cámaras aerotransportados en movimiento, se ha resuelto satisfactoriamente con la entrada en escena de los sistemas de posicionamiento por satélite GNSS y muy especialmente con su hibridación con los sensores inerciales IMU, lo que a ha permitido aspirar a la georreferenciación directa de las cámaras en tiempo real. Una prueba del grado de avance en este campo y muy particularmente en el de la fotogrametría aérea son los numerosos 30 desarrollos en forma de algoritmos, métodos numéricos e incluso patentes en el campo de la georreferenciación directa de cámaras fotogramétricas aéreas mediante la integración GNSS/IMU. Gracias a esta hibridación se está en disposición de hacer frente a la determinación directa de la posición espacial y angular de una cámara en movimiento y por
ende la posibilidad de resolver el proceso de orientación de las imágenes y la generación de productos cartográficos de manera automática, esencial en muchas aplicaciones en las que se demanda un alto grado de inmediatez en la obtención de este tipo de resultados.
En la actualidad se conocen algunos dispositivos para posicionamiento espacial y angular como el descrito por el documento P200900365 donde se describe un soporte de sistema fotogramétrico multi-cámara portátil para aplicaciones terrestres que facilita la georreferenciación directa y la calibración en procesos fotogramétricos; para ello cuenta con un cuerpo central provisto de un habitáculo para el alojamiento de un sistema de navegación inercial INS en su interior y con posibilidad de giro horizontal, una base que soporta sensores y cámaras, y una antena GNSS dispuesta en la parte superior del soporte, posibilitando así tres realizaciones consistentes en: un modelo rígido en el que la situación relativa de los sistemas particulares de coordenadas, con respecto al sistema general definido por el soporte, permanece constante durante el proceso de medición; un modelo con eje horizontal giratorio en el que las cámaras y sensores pueden tener giro de cabeceo; y un modelo con eje horizontal giratorio más sistema de verticalización de antena que permite cabeceo y alabeo de cámaras y sensores, y evita faltas de verticalidad en la antena. El soporte aquí descrito requiere que ambas cámaras mantengan los mismos giros y sólo permite dos grados de libertad, acimutal y vertical, este último limitado por la propia construcción del artefacto. Incorpora un sistema GNSS topográfico de coste elevado. Asimismo, se trata de un sistema enormemente pesado que dificulta su movilidad en campo de forma ágil y más aún en escenarios complejos (zonas estrechas sin espacio).
También se conocen otros desarrollos como la Plataforma multisensorial militar controlada a distancia para aplicaciones de monitorización de tráfico marítimo, labores de vigilancia, patrullas de costa denominada Sea Cobra System ( http://www.chess- dynamics.com/products/sea-cobra-system.html . En este dispositivo los diferentes sensores que incorpora (cámara visible, térmica, distanciómetro) no son intercambiables; y dado que el problema técnico que plantea es el de vigilancia, no sirve a propósitos fotogramétricos, ya que sólo incorpora una cámara visible, que además presenta paralaje frente al eje de giro por lo tampoco es adecuada para la generación de panoramas. La plataforma presenta dos grados de libertad respecto a los giros (horizontal y vertical), y no incorpora sistemas de posicionamiento GNSS ni IMU. En este tipo de dispositivos se encuentra el Fovex Measure
3D ( http://www.fovex.com/ ) que es una plataforma robotizada para la generación de panoramas. Presenta una única posibilidad de rotación (acimutal) y no permite cámaras intercambiables ya que emplea un sensor TDI (time delay and integration); hace uso de un movimiento robotizado que permite generar panoramas y solamente mediante múltiples 5 estaciones reconstrucciones 3D de objetos; asimismo carece de sistemas de
posicionamientos GNSS y sistema IMU que le dote de capacidades de geolocalización y explotación fotogramétrica.
En este sentido, la presente invención permite conocer de forma directa, precisa y con bajo- 10 coste las coordenadas espaciales (X,Y,Z) y angulares ("axis", "tilt", "swing") del punto de
vista de la cámara, habilitando la posibilidad de acometer procesos de medición
fotogramétrica y de reconstrucción 3D sin necesidad de procedimientos invasivos de apoyo topográfico o medición sobre el objeto o escenario, permitiendo obtener productos
fotogramétricos como los modelos tridimensionales y las ortofotos de manera automática a 15 partir de la toma de imágenes múltiples horizontales o convergentes de un mismo objeto o escenario.
DESCRIPCIÓN DE LA INVENCIÓN
El objeto de la invención aporta una solución al problema anteriormente planteado de manera que se permite obtener una georreferenciación directa de cámaras terrestres embarcadas en trípode mediante un sistema flexible y portable que incorpora sensores de posicionamiento espacial y angular de bajo coste sin renunciar a la precisión y calidad en sus resultados.
Para ello el dispositivo aquí descrito que permite la orientación directa de cualquier cámara haciendo uso de un trípode, dotando a cualquier toma fotográfica de coordenadas espaciales (X, Y, Z) y angulares ("Axis"-giro acimutal, "Tilt"-giro vertical, "Swing"-giro propio). Esto permite la posibilidad de realizar modelos tridimensionales y ortofotos de manera 30 rápida y automática en cualquier aplicación terrestre relacionada con la ingeniería y la arquitectura en la que se requieran la toma de imágenes. El dispositivo aquí descrito consta principalmente de un soporte articulado en forma de "arco" fabricado en un material ligero y resistente como puede ser fibra de carbono, que permite, gracias a su forma específica,
flexibilidad en los giros acimutales (axis) del soporte, y libertad de movimientos de la cámara incluso en su posición cenital, gracias al abatimiento vertical de su parte central.
El dispositivo dispone de un sistema GNSS (Global Navigation Satellite System) de bajo 5 coste para el posicionamiento espacial integrado por un módulo GNSS y una antena ensamblada en el extremo superior del soporte y alineado con la vertical del centro óptico de la cámara (2) y que garantiza la obtención de coordenadas espaciales (X, Y, Z) de precisión centimétrica. Un sistema IMU (Inertial Measurement Unit) de bajo coste para el posicionamiento angular de la cámara incorporado en la parte superior de esta (base para 10 flash externo) y solidario con ella (3). Una unidad de control terrestre, computadora portátil, de bajo coste responsable del procesado, sincronización y almacenamiento de la información, de tipo tableta con pantalla táctil protegida por una carcasa metálica estanca y anclada al propio soporte (1) que permite la gestión del sistema en la toma de fotos, así como el almacenamiento de los datos de posición espacial y angular. Un soporte para la 15 cámara del tipo rótula de bola, micrométrica o panorámica (5) para embarcar la propia cámara y que permite la realización de giros específicos en la toma de imágenes.
La presente invención describe un sistema ligero, preciso y de bajo coste para la geo- localización 3D y orientación de tomas fotográficas terrestres embarcadas en trípode que 20 permite determinar de forma directa la posición (X, Y, Z) y orientación (Axis,Tilt,Swing) de la cámara y por ende la posibilidad de obtener modelos digitales tridimensionales y ortofotos de manera automática. Para ello, el sistema requerirá de la toma de imágenes desde diferentes ángulos y distancias según un protocolo específico y contemplado en las reglas básicas de la fotogrametría, para ser tratadas posteriormente en un software fotogramétrico. 25 Una ventaja de la invención, aparte de las ya reseñadas de flexibilidad y portabilidad en su manejo, está en el bajo coste de los sensores de posicionamiento espacial GNSS e inerciales IMU que incorpora que permiten garantizar resultados de calidad válidos para aplicaciones de arquitectura e ingeniería, permitiendo que un usuario con un software fotogramétrico pueda obtener de forma automática modelos tridimensionales y ortofotos.
A continuación se pasa a describir el dispositivo de la invención para la geo-localización 3D y orientación de tomas fotográficas terrestres y que comprende los siguientes elementos:
1. Un soporte en forma de "arco" articulado en dos partes abatibles y realizado en fibra de carbono. Más concretamente, el soporte se compone de un soporte para la antena GNSS, un eje de rotación para abatir la mitad superior, y dos pasadores con cabeza roscada que actúan como bloqueador cuando el arco superior está en posición vertical. Soporte
articulado en forma de "arco" abatible en su parte central. Detalle de la parte abatible central.
2. Un sistema GNSS diferencial, integrado por una antena GNSS L1 del tipo Trimble Bullet III muy ligera (170g) y un módulo receptor GNSS del tipo Ublox 6T capaz de procesar información código C/A y medidas de fase en la portadora L1. La antena está ensamblada
en la parte superior de la plataforma (FIG 3) de forma que una vez nivelada la plataforma esté alineada con la vertical del centro óptico de la cámara. Un cable de antena convencional transmite la señal al módulo GNSS alojado en la carcasa estanca y que está conectado a la tableta (computadora portátil) alojada en la misma carcasa. Antena ensamblada en la parte superior del soporte y alineada con la vertical del centro óptico de la 15 cámara. Módulo receptor GNSS del tipo Ublox. Detalle de la parte superior del soporte donde va ensamblada la antena GNSS.
3. Un sistema de medida inercial IMU del tipo MPU-9150, situado en la parte superior (base para flash externo) de la cámara y solidaria con esta, compuesta por tres acelerómetros y
tres giróscopos que permite la determinación de los giros de la cámara (axis,tilt,swing) con una aceptable calidad y acoplado en la parte superior (base para flash externo) de la cámara y solidaria con esta.
4. Una computadora portátil tipo tableta con pantalla táctil, responsable del procesado, 25 sincronización y almacenamiento de la información (a excepción de las imágenes que se
almacenan en el propio sistema de registro de la cámara) protegida por una carcasa estanca, diseñada para alojar el resto de componentes: módulo GNSS y sistema de alimentación. La componente principal de esta unidad es una computadora portátil tipo tableta, tiny201. Sobre este dispositivo se instala un sistema GNU/Linux, tipo Lubuntu, sobre 30 el que correrán las diferentes librerías y aplicaciones basadas en software libre. La calidad de la precisión obtenida se basa en que el sistema de posicionamiento empleado es la técnica GNSS-RTK (Real Time Kinematic), integrado por base y móvil, con la portadora L1 con el fin de que se alcance la solución fija de ambigüedades, utilizando para ello la librería
de código abierto RTKLib ( http://www.rtklib.com/ ) a partir de los datos raw del sistema GNSS móvil integrado en el equipo y los datos en formato RTCM (Radio Technical Commission for Maritime Services) procedentes de una base o estación de referencia GNSS a la que se conectará por Internet desde el propio procesador. Además del procesamiento en tiempo real, se van grabando el flujo sincronizado de datos (GNSS, IMU y disparos de la cámara) para obtener una mejor solución en post-proceso que se introducen en el proceso fotogramétrico con un criterio de precisión en función del tipo de solución alcanzada (fija o flotante respecto de las ambigüedades GNSS) de manera que no se perturbe la precisión relativa fotogramétrica que puede ser mejor que 0.01 m, obteniéndose una georreferenciación absoluta (localización y orientación) de los productos fotogramétricos mejores que 0.10 m pero con la precisión relativa propia de la fotogrametría de rango cercano.
El dispositivo aquí descrito permite al menos dos modos de operación o dos modos de realización de la plataforma con campos de aplicación diferentes. Un primer modo de realización en el que se requiere una rotula de bola estándar para la toma fotográfica múltiple convergente destinada a la reconstrucción tridimensional de un objeto o escenario, así como a la generación de la correspondiente ortofoto. Un segundo modo de realización es aquel en el que se requiere una rótula panorámica junto con un objetivo gran angular para la toma fotográfica inmersiva geo-localizada y con fines de inspección e inventariado.
DESCRIPCIÓN DE LOS DIBUJOS
Para complementar la descripción que se está realizando y con objeto de ayudar a una mejor comprensión de las características de la invención, de acuerdo con un ejemplo preferente de realización práctica de la misma, se acompaña como parte integrante de dicha descripción, un juego de dibujos en donde con carácter ilustrativo y no limitativo, se ha representado lo siguiente:
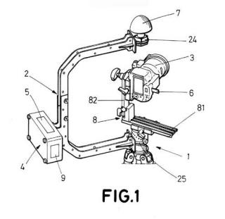
Figura 1.- Muestra una vista en perspectiva del conjunto formado por el dispositivo objeto de la invención y la cámara montada en el mismo.
Figura 2.- Muestra una vista en perspectiva del soporte articulado con el brazo superior
abierto
Figura 3.- Muestra una vista en perspectiva donde se aprecia la unidad de proceso ensamblada.
Figura 4.- Muestra una vista en perspectiva del segundo soporte y los elementos utilizados para fijar la cámara, donde se aprecia su posible múltiple configuración.
REALIZACIÓN PREFERENTE DE LA INVENCIÓN
A la vista de las figuras se describe a continuación un modo de realización preferente del dispositivo (1) objeto de esta invención.
El dispositivo (1) (Fig. 1) de captura de imágenes referenciadas aquí descrito hace uso de 15 una cámara (3) que es la encargada de realizar la toma de imágenes, cámara (3) que se encuentra fijada a un segundo soporte (8) consistente en una posible realización en una rótula panorámica, como la que se aprecia en la figura 4, que comprende una base (81) de la cual parte un miembro vertical (82) del cual parte un miembro horizontal (83) paralelo a la base (81); la cámara se fija a dicho segundo soporte (8) fijándola mediante unos medios de 20 fijación o bien a la base (81) o bien a cualquiera de los miembros (82,83) o una combinación de los mismos. Una vez fijada la cámara (3) se procede a ajustar la posición de la cámara (3) ajustando la base (81) y los miembros (82, 83) ya que éstos se encuentran unidos solidariamente por fijaciones ajustables; de esta manera también se ajusta y ubica un sensor de posicionamiento angular (6) de la cámara (3) que comprende al menos tres 25 acelerómetros y tres giróscopos y que es solidario a la cámara (3) y fijado a la parte superior de ésta.
El conjunto formado por la cámara (3) y el segundo soporte (8) se monta sobre un primer soporte (2) articulado que comprende al menos un brazo superior (21) y un brazo inferior 30 (22) unidos por una articulación (23) que permite la apertura de los brazos (21, 22) uno con
respecto del otro, apertura que puede disponer de dos pasadores destinados a bloquear el movimiento de la articulación que une los brazos (21, 22) impidiendo el movimiento de la menos uno de ellos. En unos extremos libres de cada brazo (21,22) se encuentran ubicados
respectivamente un primer alojamiento (24) que se encuentra en el extremo libre del brazo superior (21) y un segundo alojamiento (25) que se encuentra ubicado en el extremo libre del brazo inferior (22) donde el segundo alojamiento (25) se encuentra adaptado para fijar el dispositivo (1) a al menos a un trípode, ya que en este punto se procede asimismo a fijar el conjunto formado por la cámara (3) y el segundo soporte (8). Junto al brazo inferior (22) del soporte (2) y fijado al mismo se encuentra al menos una unidad de proceso (4), que contiene en su interior un medio de suministro de energía (9) como puede ser una batería de Upo.
Una vez tenemos montado el conjunto de soportes (2, 3) se procede a posicionar un sensor de posicionamiento espacial (5) vinculado a la unidad de proceso (4) y que se encuentra ubicado en la parte superior del soporte (2) alineado con la vertical del centro óptico de la cámara (3), y una antena de posicionamiento espacial (7) asociada al sensor de posicionamiento espacial (5) y alojada en el primer alojamiento (24) del brazo superior (21) del soporte (2).
Para proceder a realizar la toma de imágenes y controlar la cámara y operar los distintos sensores (6, 5) y obtener información de los mismos la unidad de proceso (4) comprende una pantalla táctil destinada a mostrar información y a permitir la entrada de datos a la unidad de proceso (4).
Asimismo y no menos importante, la flexibilidad, portabilidad y bajo coste del sistema unido a su doble realización (rótula de bola o panorámica) permite su utilización en multitud de casos de estudio de la ingeniería y la arquitectura en los que se requieran datos de forma expedita sin renunciar a la calidad de los resultados.