OBJETO DE LA INVENCiÓN. El objeto de esta invención es un sistema que resuelve el siguiente problema técnico: Dado un modelo concreto de vehículo automóvil en marcha, provisto con motor de combustión interna calcular, en tiempo real, el nivel de emisiones que está produciendo. Para ello utiliza un conjunto de dispositivos relacionados entre sí que se silven los valores instantáneos de los parámetros de funcionamiento del vehículo tales como: su velocidad, aceleración, régimen de revoluciones del motor, marcha que utiliza, información sobre la inyección de combustible, etc. De 10$ valores de estos parámetros específicos de funcionamiento del vehículo , unidos a los de otros parámetros circunstanciales que son función del tipo exacto de combustible empleado, de la edad del vehículo y de las características de la orografía del terreno por el que aquél circula se obtiene, una vez gestionados en conjunto por procedimientos adecuados, una información en tiempo real sobre el
nivel de emisiones contaminantes emitidos. Esta información, combinada con la localización geográfica exacta del vehículo obtenida mediante coordenadas GPS y asociada al momento del cálculo, puede mostrarse al conductor ylo enviarse a una central receptora de datos para su posterior tratamiento y explotación práctica.
SECTOR DE LA TÉCNICA AL QUE PERTENECE.
La invención se encuadra en el sector de vehículos automóviles accionados con motores de combustión interna y más concretamente en la parte del mismo que se refiere al cálculo o estimación instantáneos de sus parámetros de funcionamiento y a la relación de éstos con el nivel de emisiones producidas en el momento del cálculo.
ESTADO DE LA TÉCNICA. Existe una especial preocupación por el control y disminución de las emisiones a la atmósfera de todo tipo de contaminantes. Al ser los vehículos automóviles accionados por motores de combustión interna, uno de los agentes que realizan mayores aportaciones de estos contaminantes, es de vital importancia limitar las mismas en la medida de 10 posible. Existen numerosos sistemas y áreas de trabajo encaminados a conseguir este objetivo. Algunas de las tendencias más relevantes en la actualidad son: 1. Desarrollo de sistemas de propulsión basados en combustibles no fósiles (pila de hidrógeno, hidráulicos, solares, eléctricos, etc.)
2. Optimización de los motores de combustión interna de forma que se reduzcan sus emisiones, incluyendo nuevos combustibles (bioetanol, biomasa o biodiesel) 3. Optimización del conjunto restante de los componentes del vehículo con el mismo objetivo (aerodinámica, eficiencia en los sistemas de transmisión o de otros subsistemas; mejora de la tracción) . 4. 0ptimización de las infraestructuras involucradas en el transporte, por ejemplO la utilización de materiales absorbentes para firmes o con una mejor interacción con el vehículo.
Sin embargo, hasta la fecha, el desarrollo de sistemas que ayuden a modificar el comportamiento del conductor del vehículo en beneficio de una reducción de las emisiones pe~udiciales producidas por este último es escaso, siendo muy limitado el uso de realimentación del nivel de emisiones en tiempo real o decalado en el tiempo y menos aun de un grupo de conductores o en un entorno global. Los contaminantes fundamentales a los que nos referimos en el párrafo anterior
son:
1. Dióxido de Carbono. CO, . Se produce en toda combustión de productos basados en el carbono.
2. Oxidos de nitrógeno. NO~. Se produce durante el proceso de combustión como reacción entre el nitrógeno y el oxigeno del aire.
3. Dióxido de azufre. S02. Nace en los procesos de combustión como combinación del azufre presente en los combustibles con el oxígeno.
4. Ozono. 0 3
5. Compuestos orgánicos volátiles. cavo
6. Partículas. Cuerpos sólidos de pequeño tamaño en suspensión. Se caracterizan por su diámetro equivalente en micras. Por ejemplo PM10
7. Contaminantes orgánicos. Como hidrocarburos aromáticos policíclicos (PAH) , dioxinas y otros compuestos.
8. Metales pesados. Para poder reducir las emisiones es fundamental que el conductor disponga de la realimentación necesaria; de esta manera será capaz de modificar su comportamiento. Esta realimentación debe realizarse desde tres perspectivas: temporal, geográfica y social. A la perspectiva temporal pertenece la realimentación en tiempo real, consistiendo ésta en las indicaciones sobre emisiones mostradas por el panel de instrumentos u otro dispositivo disponible en el momento de la conducción así como de la realimentación decalada en el tiempo, con resúmenes de consumos por
trayecto o diarios o en cualquier otro horizonte temporal. Para esta última es necesario añadir a la información sobre emisiones el momento y lugar en que se produjeron, tratar todos estos datos y facilitárselos al conductor o al agente interesado. Un segundo grupo de información es la asociada a coordenadas geográficas y temporales tales como rutas de contaminación, sistemas de propuestas de rutas alternativas, etc. siendo los destinatarios de esta información el conductor o terceros agentes interesados. Respecto a la información social, ésta puede referirse a un solo conductor o a un grupo, es decir, la información agregada de varios conductores, o a la posición de un individuo en un grupo.
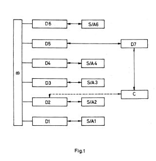
DESCRIPCiÓN DE LOS DIBUJOS. Para una mejor comprensión de la descripción que se realizará a continuación se acompaña la Figura 1 en la que se esquematizan, en un diagrama de bloques, los distintos dispositivos componentes que constituyen la totalidad del sistema y sus interrelaciones. Para hacer las correspondientes referencias a dichos componentes se utilizan números y letras que los identifican.
DESCRIPCiÓN DETALLADA DE LA INVENCiÓN Y FORMA DE UTILIZACiÓN. El sistema para la ayuda a la conducción objeto del invento facilita información sobre emisiones contaminantes al conductor del vehículo o a otros agentes interesados en el momento adecuado, de forma que sea posible tomar las decisiones apropiadas para reducir las emisiones contaminantes generadas. Las novedades fundamentales de esta invención son las siguientes:
-A dWerencia de las Patentes U.S.6.594.579 Ó 6.988.033, que delerminan la eficiencia energética '1 el consumo de combustible del vehículo, el sistema objeto del invento estima, además, las emisiones de contaminantes producidas por el mismo. -Las patentes U.S. 6.148.656 6 3.998.095 muestran diferentes sistemas para medir la emisión de contaminantes mediante dispositivos físicos. A diferencia de esas invenciones la invención que se describe calcula las emisiones de contaminantes a partir de los parámetros de funcionamiento del vehículo en lugar de medirlas directamente con dispositivos específicos, que es algo realmente costoso y dificil de realizar, especialmente cuando el vehículo se encuentra en movimiento. -Además, el sistema objeto del invento es capaz de estimar las emisiones de
contaminantes en tiempo real. Todo ello permite que la calidad de la información suministrada al conductor sea elevada, su coste bajo y el momento del suministro el óptimo. A continuación se describe, desglosada en sus diferentes dispositivos, la composición del sistema objeto del invento. Cada uno de los bloques (On) de la Figura 1 representa un dispositivo que se comunica con su correspondiente conjunto de sensores y actuadores (SIAr.) o con otros dispositivos, cuyas funciones se describen más adelante; el bloque (C) representa al conductor del vehículo o a otro agente interesado.
Para la denominación de cada dispositivo se ha utilizado la terminología inglesa por ser el estándar admitido en el mercado. Así ECU es el acrónimo de Electronic Control Unit, OBO el de On Board Diagnosis y GPS el de Global Positioning System: Dispositivo Motor (Molor ECUl (01 Fig.11, Se encarga de controlar el funcionamiento del motor del vehículo, tomando lecturas de los sensores de funcionamiento instalados por el fabricante del mismo, tales como el sensor de temperatura 'de los gases de escape, el de consumo instantáneo, el de régimen de revoluciones del motor, el de velocidad, el del acelerador, el de la marcha que está siendo utilizada y cualquiera otros sensores que incorporara el vehículo; este dispositivo procesará la infonnación adquirida y generará salidas que orientarán al conductor sobre las actuaciones que sea pertinente realizar. Dispositivo Instrumentos (Instrumentos ECUl (02. Fig.1l. Se encarga de suministrar al conductor la infonnación deseada, en el interior del vehiculo. Dispositivo Diagnosis a Bordo (OBD ECU) <03. Fig.1) ' Se encarga de tomar datos de otros diferentes dispositivos del vehículo mayoritariamente del dispositivo Motor
(01 , Fig1) Y genera salidas relacionadas con el control de emisiones, originando una serial de alarma en el caso de que algún dispositivo no funcione correctamente o supere el valor previamente establecido como máximo para la producción de emisiones. No obstante no proporciona información cuantitativa sobre las emisiones de los productos citados en el apartado referente al Estado de la Técnica. Dispositivo GPS (GPS ECU) (04. Fig.1l. Es el responsable de recibir las informaciones sobre la posición geográfica del vehículo, su velocidad y aceleración y, con ayuda de mapas, la información sobre las características de la orografía del terreno (pendientes) por el que circula.
Dispositivo Emisiones (Emisiones ECU) <06 Fíg. 1) . Recibe información del resto de dispositivos, la procesa y genera datos sobre las emisiones de los productos citados en el apartado referente al Estado de la Técnica.
Asimismo es a este dispositivo (06) a quien el conductor del vehículo facilita los
valores de los parámetros de configuración circunstancial en el caso de que fuera
necesario, por ejemplo, el tipo exacto de combustible repostado, la edad del
vehículo.
S Dispositivo Comunicación con el Exterior (Comunicación Exterior ECU) , (05.
E!gjl. Es el encargado de enviar al exterior la información generada en el
dispositivo Emisiones (06, Fig. 1) .
Dispositivo Central de Datos (07 Fíg, H. Completa el sistema este dispositivo
situado en el exterior remoto del vehículo, el cual se encarga de recibir, y procesar
10 los datos procedentes del mismo, constituyendo éstos una información que,
acordada previamente en tiempo y forma, finalmente es comunicada al agente
destinatario, por ejemplo el Conductor del vehículo.
El Conductor del vehículo está representado en el diagrama de la Fig.1 por el
bloque e
15 Las comunicaciones entre los distintos dispositivos (On) se describen a
continuación:
Comunicación entre los dispositivos: Motor (01) , Instrumentos (02) y Diagnosis a
Bordo (03) (Fia 1) , Esta comunicación se realiza mediante el sistema utilizado de
forma estándar por el fabricante del vehículo. En la industria existen en la
20 actualidad varios sistemas sancionados por la experiencia; éste es el caso del
denominado CAN Bus (Controller Área Network Bus ) , (B, Fig.1) desarrollado por la
sociedad Robert Bosch GmbH y protegido por la patente DE3826774 Y otras; éste
es un sistema estándar para vehículos automóviles pero existen airas equivalentes
que también pueden utilizarse.
25 Comunicación enlre los dispositivos: Emisiones (06) , y Central de Datos (Dl)
(Fig.1 ) : Se realiza en tiempo real a través del dispositivo Comunicación con el
Exterior (05) (Fig1) , El dispositivo Central de Datos (D7) podrá tratar la información recibida, almacenarla y si fuera necesario enviarla al Conductor (e) (Fig.1) Comunicación entre el DisPOsitivo Emisiones (OS) , el Dispositivo Instrumentos (02) y el Conductor (C) (Fig.1l: La comunicación entre el Dispositivo Emisiones (06) y el Dispositivo Instrumentos (D2) se realizará a través del Bus (B) (Fig.1) . El dispositivo Instrumentos (D2) está constrtuido por una interfaz hombre-máquina en donde la información aparecería en forma visual o auditiva, es decir sensible para el Conductor (e) , que podría capturarla en tiempo real para utilizarla directa e inmediatamente en la mejora de la conducción del vehículo.
ALGUNAS APLICACIONES DE LA INVENCiÓN, Entre las posibles aplicaciones del sistema descrito se encuentran las siguientes: 1-, -Contando con un numero suficientemente elevado de vehículos que dispongan del sistema descrito pueden generarse ~mapas de contaminación" con el objeto de conocer en tiempo real el grado de contaminación que afecta a las zonas geográficas de interés. El problema de la generación de mapas de contaminación se resuelve hoy día mediante la instalación de numerosas estaciones sensoras de contaminación que son extraordinariamente caras cada una. El invento propuesto constituye una solución efectiva del problema de la estimación de dichos valores en cualquier zona geográfica sin que sea necesaria la elevada inversión económica requerida para establecer una estación de medición en las proximidades de cada una de las zonas interesadas.
21. ·EI sistema propuesto permitiría poner en práctica el establecimiento del cobro de una tasa por contaminación específica producida por cada conductor, dependiendo exclusivamente de la contaminación originada por el vehículo o segmentado en función de la zona geográfica en la que la contaminación se produzca. Este mecanismo resolvería un problema técnico que actualmente se ataca de una manera tosca mediante el impuesto de matriculación, que mide las emisiones teóricas de un vehículo sin tener en cuenta el uso real que se hace del mismo, es decir que las cuantifica y penaliza aunque el vehículo esté parado. 31 • -El sistema propuesto permite, aunque no haya estaciones medidoras de contaminación cercanas, la detección instantánea de ~puntos calientes~ de contaminación, debidos a atascos por ejemplo, con la posibilidad de generar una alarma sensible cuando se alcance un nivel excesivo de contaminación. Esta solución se manifiesta extraordinariamente útil en entornos cerrados, como pueden ser los túneles. 4-, -Detección en tiempo real de las averías del vehiculo que den lugar a una contaminación excesiva. Esta detección tiene diferentes aplicaciones tales como avisar al conductor para que acuda al taller más próximo y reparando la avería cortar lo antes posible la emisión de contaminantes, que solamente serían detectadas en la siguiente Inspección Técnica del Vehículo (ITV) o avisar a la Autoridad Competente del anómalo funcionamiento del vehículo objeto que, de esta forma, podría ser interceptado e incluso inmovilizado si ello fuera necesario. 5a. lnformar sobre el ~impacto ecológico~ causado por los diferentes perfiles personales de actuación de los conductores ya que, por ejemplo, está comprobado que un conductor ~agresivo" contamina en mayor medida que otro que no tenga dicha consideración. 63 ._ Confección de estadísticas sobre las huellas ecológicas producidas por los diferentes modelos de las distintas marcas de vehículos obtenidas en condiciones reales, que servirían para complementar y matizar los resultados de las pruebas realizadas por los fabricantes en entornos controlados.
EJEMPLO DE REALIZACiÓN. Se muestra a continuación el funcionamiento del sistema para uno de los casos más relevantes definido por los siguientes parámetros: · Tipo de vehículo: Turismo . Combustible: Gasolina · Emisión objeto de cálculo: CO, · Origen de la estimación: Frey y otros, Road grade esfimation for on·road vehicle emissions modeling using light deteetion and ranging data. ISSN: 1096-2247 · Información mensual agregada Para cada instante en el que se estima la emisión del contaminante especificado, se calcula la potencia específica del vehículo requerida (en adelante PEVR) , siguiendo la fórmula matemática recogida a continuación:
PEVR = (O, 27813, 6) v· ({O, 305/3, 6) a + 9, 81 sen (arctan (r/100) ) +1, 132) +
+ (0, 0000065/3, 6' ) v' El significado y unidades de las distintas variables que aparecen son:
v: velocidad del vehículo, expresada en metros por segundo.
a: aceleración del vehículo expresada en metros por segundo cuadrado (m/s2)
r: pendiente en porcentaje. PEVR: Potencia Especifica del Vehículo Requerida, expresada en kilowatios por tonelada (kw/t) . Las tres variables v, a y r, esta última con ayuda de mapas, se calculan a partir de los datos del dispositivo GPS, por lo que el sistema genérico representado en la figura 1 queda simplificado, no siendo necesarios los dispositivos 01, 02 Y D3 (Fig.
) .
Con este valor de la PEVR así calculado, se selecciona el intervalo en el que se encuentra dicha magnitud entre los indicados a continuación:
· Inlervalo 1: PEVR menor que -2 · Intervalo 2: PEVR mayor o igual que -2 y menor que O · Intervalo 3: PEVR mayor o igual que O y menor que 1. · Intervalo 4: PEVR mayor o igual que 1 y menor que 4. . Intervalo 5: PEVR mayor o igual que 4 y menor que 7. · Intervalo 6: PEVR mayor o igual que 7 y menor que 10. · Intervalo 7: PEVR mayor o igual que 10 y menor que 13 . . Intervalo 8: PEVR mayor o igual que 13 y menor que 16. · Intervalo 9: PEVR mayor o igual que 16 y menor que 19. . Intervalo 10: PEVR mayor o igual que 19 y menor que 23 · Intervalo 11: PEVR mayor o igual que 23 y menor que 28. · Intervalo 12: PEVR mayor o igual que 28 y menor que 33. · Intervalo 13: PEVR mayor o igual que 33 y menor que 39. · Intervalo 14: PEVR mayor o igual que 39 . Una vez conocido el intervalo al que pertenece se le asigna el valor de la emisión de CO2 según los siguientes valores: · Intervalo 1: 1, 7 · Intervalo 2: 1, 5 · Intervalo 3: 1, 1 . Intervalo 4: 2, 2 · Intervalo 5: 2, 9 · Intervalo 6: 3, 5 · Intervalo 7: 4, 1 · Intervalo 8: 4, 6 . Intervalo 9: 5, 2 · Intervalo 10: 5, 6
· Intervalo 11: 6, 5 . Intervalo 12: 7, 7 · Intervalo 13: 9, 0 · Intervalo 14: 10, 9
Estando expresadas en gramos por segundo las unidades de las emisiones de CO2. En este cálculo se ha considerado valor nulo para la aceleración. La información es almacenada durante el periodo definido para realizar los cálculos agregados (un mes en este ejemplo de aplicación) y tratada posteriormente para su envío al conductor. Así se acumulan todas las emisiones de CO2 estimadas en el
periodo indicado. El reslo de los contaminantes se estimarán por procedimientos equivalentes especificos para cada producto.