Procedimiento adaptativo para la medida y compensación de aberraciones ópticas y dispositivo para su puesta en práctica.
Objeto de la invención
La presente invención se refiere, tal y como su enunciado indica, a un procedimiento adaptativo para la medida y compensación de aberraciones ópticas, y a un dispositivo concebido para su puesta en práctica.
La invención se dirige principalmente a los sectores de instrumentación optoelectrónica, óptica, optométrica y oftálmica, para aquellas aplicaciones en las que se requiera medir y compensar las aberraciones ópticas que presentan los instrumentos o las que presenta la luz tras propagarse por diferentes tipos de medios materiales, como por ejemplo una atmósfera turbulenta o los medios que forman el ojo humano.
Antecedentes de la invención
Las aberraciones ópticas son desviaciones de la geometría de los frentes de onda respecto a sus valores ideales, debidas a la propagación de la luz por distintos tipos de medios y/o a las propias imperfecciones en el diseño y fabricación de los instrumentos ópticos. Su medida y compensación es una tarea de fundamental importancia para obtener las máximas prestaciones de la instrumentación, así como para la mejora de la calidad de operación de un número creciente de sistemas de diagnóstico en optometría y oftalmología, y/o para estudios de carácter básico en óptica fisiológica y de la visión.
Dentro de las estrategias de medida y compensación de aberraciones se conocen como "adaptativas" aquellas que permiten responder satisfactoriamente a aberraciones variables en el tiempo de forma que estas aberraciones, tras su medida, son compensadas mediante uno o más subsistemas, en lo sucesivo denominados módulos adaptativos, que contienen uno o más elementos ópticos reconfigurables cuyas características ópticas se pueden variar mediante adecuados sistemas de control.
La compensación adaptativa más conocida es la compensación del desenfoque: esta compensación está implementada biológicamente en los ojos de todas las especies con capacidad de acomodar, es decir, de formar secuencialmente imágenes de objetos situados a diferentes distancias, y en los sistemas de autoenfoque que se encuentran en una gran variedad de dispositivos ópticos y optolectrónicos.
La primera propuesta para la medida y compensación adaptativa de aberraciones de alto orden, debidas a las irregularidades introducidas en los frentes de onda por las turbulencias atmosféricas se debe a Babcock (H. Babcock, "The Possibility of Compensating Astronomical Seeing", Publications of the Astronomical Society of the Pacific, 65, No. 386, 229-236 (1953) ) . En ella, las aberraciones se compensan deformando electrostáticamente una fina capa de líquido depositada sobre la superficie de un espejo.
En las últimas décadas se han desarrollado dispositivos que permiten medir las aberraciones con mayor velocidad y fiabilidad, entre otros los sistemas de trazado de rayos con láser (R. Navarro and E. Moreno-Barriuso, "Laser ray-tracing method for optical testing" Opt. Left. 24, 951-953 (1999) ) , los sensores de frente de ondas basados en el sistema clásico de Hartmann (J. Hartmann, "Objektivuntersuchungen", Zeitschrift für Instrumentenkunde XXIV 1-21 (enero) , 3 y 34-47 (febrero) , 7 y 98-117 (abril) (1904) ) y los dispositivos tipo Hartmann-Shack (B.C. Platt and Roland Shack, "Histor y and Principles of Shack-Hartmann Wavefront Sensing", Journal of Refractive Surger y , vol 17, S573-S577 (September/October 2001) ) . En estos dos últimos sensores, el frente de ondas se muestrea mediante una pantalla con subpupilas, que son orificios (en los sensores Hartmann) o microlentes esféricas (en los sensores Hartmann-Shack) . La información sobre las aberraciones del frente se obtiene procesando las distribuciones de irradiancia del haz que, tras propagarse una distancia en el espacio desde cada subpupila, se miden con un detector de radiación, habitualmente una cámara CCD.
La compensación de aberraciones mediante módulos adaptativos ha experimentado un progreso comparable al anterior. Los sistemas actualmente mas utilizados se basan en espejos deformables de membrana (L. Zhu, P. Sun, D.W. Bartsch, W.R. Freeman, and Y. Fainman, "Adaptive control of a micromachined continuous-membrane deformable mirror for aberration compensation", Appl. Opt. 38, 168-176 (1999) ) , o bimorfos (Eugenie Dalimier and Chris Dainty, "Comparative analysis of deformable mirrors for ocular adaptive optics", 30 May 2005/Vol. 13, No. 11/Optics Express 4275-4285) y en moduladores espaciales de luz constituidos por diferentes tipos de pantallas de cristal líquido (V. Climent, E. Tajahuerce, J. Lancis, V. Durán, S. Bard, J. Arines, Z. Jaroszewicz, "Procedimiento para la compensación de aberraciones ópticas mediante pantallas de cristal líquido tipo TNLCD y dispositivo para su puesta en práctica", Solicitud de patente P 2006 01631) . Ambos enfoques tecnológicos, con las ventajas y limitaciones propios de cada uno, permiten introducir modificaciones locales en la fase de los frentes aberrados para restaurar su geometría y acercarlos lo más posible al frente de referencia ideal. Las pantallas de cristal líquido, trabajando con luz en un adecuado estado de polarización, y con la ayuda de polarizadores y/o láminas de retardo de fase, permiten modular la amplitud del campo electromagnético asociado a la luz que incide sobre ellas, su fase o ambas; lo que se obtiene al aplicar en cada uno de los píxeles un voltaje controlado por ordenador. En particular, mediante una selección adecuada de los ángulos que forman los ejes de transmisión de los polarizadores y los ejes propios de las láminas con el eje director molecular de la pantalla TNLCD es posible obtener parámetros de transmitancia casi constantes y el valor máximo del rango dinámico de la modulación de fase.
Los sistemas adaptativos contienen en general dos subsistemas físicamente diferenciados: un subsistema de medida, habitualmente un sensor de frente de ondas, y un subsistema de compensación, con un módulo adaptativo que contiene un elemento óptico reconfigurable. El objeto de esta invención es un procedimiento para la medida y compensación de aberraciones que utiliza el mismo módulo adaptativo como elemento clave del subsistema de medida y del subsistema de compensación, funcionando en el tiempo alternativamente como parte de uno y otro y eliminando así la necesidad de utilizar dos subsistemas físicamente diferenciados.
Descripción de la invención
El procedimiento adaptativo para la medida y compensación de aberraciones ópticas se basa en la posibilidad y conveniencia de utilizar un mismo elemento reconfigurable, por ejemplo una pantalla de cristal líquido, para formar -en una primera etapa- el elemento de muestreo de un sensor de frente de ondas, en forma de pantalla con aberturas o microlentes de características adecuadas y, en la etapa siguiente, para formar un elemento óptico compensador de la aberración medida. El haz de radiación aberrado que atraviesa el sistema es medido en la primera etapa, y su aberración es compensada en la segunda, utilizando en ambos casos el mismo módulo adaptativo.
Para ello, en la etapa de medida se codifica en el módulo adaptativo, que comprende por ejemplo una pantalla TNLCD (Twisted-Nematic Lyquid Cr y stal Display) , un conjunto de aberturas (sensor Hartmann) funcionando la pantalla en régimen de modulación de amplitud, o un conjunto de microlentes esféricas (sensor Hartmann-Shack) funcionando la pantalla esencialmente en régimen de modulación de fase. Las desviaciones de los centros de las distribuciones de irradiancia asociadas a cada abertura, tras propagarse una cierta distancia, se miden y se procesan mediante técnicas convencionales para extraer la información sobre las aberraciones o deformaciones del frente. Dentro del ámbito de esta invención, otros tipos de sensores, que en lo sucesivo denominaremos sensores Hartmann-Shack modificados, pueden construirse codificando en el módulo adaptativo, en vez de las microlentes esféricas del sensor Hartmann-Shack, microlentes cilíndricas, microaxicones o cualquier otro tipo de distribución de fase variable espacialmente que permita, mediante medidas de irradiancia, la extracción de información sobre la aberración del haz por los procedimientos habituales o por los nuevos desarrollos que con el mismo fin puedan producirse en el futuro.
Durante la etapa de compensación en el módulo adaptativo se introduce la fase contraria a la aberración del haz, para así cancelarla. Pueden utilizarse para ello diferentes procedimientos, que van desde la introducción de la fase nominal exacta necesaria para cancelar la aberración hasta la codificación de la misma en escala continua entre 0 y 2π radianes, o la codificación de la misma en un conjunto discreto de niveles, como ya se ha indicado en la anterior Solicitud de de patente P 2006 01631. Estos procedimientos de codificación son asimismo plenamente aplicables a la codificación de las fases en el módulo adaptativo para formar el elemento de muestreo del haz durante la etapa de medida. Este tipo de procedimientos de codificación dan lugar por lo general a la aparición de diferentes órdenes de difracción, es decir, réplicas armónicas de la fase, cada una de las cuales tiene asociada una eficiencia de difracción, parámetro definido como el cociente entre la energía de cada réplica y la energía total incidente en el módulo. Para cada aplicación es posible encontrar un procedimiento de codificación óptimo, en el sentido de que proporcione la mayor eficiencia posible en el orden de difracción deseado manteniendo a la vez la eficiencia de los órdenes no deseados en niveles aceptablemente bajos. Adicionalmente, es posible introducir en el módulo adaptativo una fase lineal adicional, cuyo efecto es separar espacialmente los diferentes órdenes de difracción, facilitando así su eliminación o atenuación utilizando diafragmas y/o filtros adecuados.
La compensación de las aberraciones no necesariamente debe ser realizada en su totalidad por el módulo adaptativo que contiene el elemento reconfigurable. En combinación con él pueden utilizarse uno o más componentes accesorios, como por ejemplo elementos ópticos convencionales, refractivos, difractivos o híbridos, que se encarguen de compensar toda o parte de la aberración constante que presenta el haz; de esta forma el módulo adaptativo sólo debe compensar la parte temporalmente variable de la aberración y el posible residuo de aberración constante no compensado por los componentes accesorios, lo cual conlleva una reducción, en algunos casos muy notable, del rango dinámico exigido al citado módulo.
El utilizar un elemento reconfigurable como elemento del sensor de frente de ondas en la etapa de medida de la aberración presenta asimismo ventajas muy importantes: las características de las subpupilas de muestreo del haz, como su número, tamaño, geometría, distribución espacial y eficiencia de difracción (fracción de la energía incidente sobre las mismas que se focaliza de forma útil para su medida) pueden variarse para adaptarse de forma óptima a la medida de las peculiares características de los diferentes frentes de ondas aberrados que inciden sobre el sensor, sin necesidad de proceder al intercambio físico de componentes (pantallas de orificios o matrices de microlentes) que sí es necesario en los sensores tradicionales. Por otra parte, una vez medida la aberración del haz, esta se puede sumar, con signo contrario, a la fase que se codifica en el elemento reconfigurable durante la etapa de medida. El sensor así construido mide la aberración residual, es decir, la aberración que pueda quedar en el haz después de compensar la aberración inicialmente medida, aberración residual que, por diversos factores extensivamente estudiados en la literatura científica, no siempre es cero. La aberración residual, más pequeña que la medida originalmente, se determina en la mayoría de los casos con mayor precisión que aquélla, lo que permite utilizar procedimientos iterativos para refinar tanto la medida como la compensación de aberración. En estos procedimientos iterativos, el ciclo de pasos de medida de la aberración, introducción en el elemento reconfigurable de la fase obtenida en la medida (con signo contrario) y nueva medida de la aberración se realiza tantas veces como sea necesario, con el fin de lograr que la magnitud de la aberración residual esté por debajo del límite deseado.
Al ser el procedimiento descrito en esta patente un procedimiento eminentemente secuencial, durante la etapa de medida no es posible, en general, utilizar el haz en el sistema óptico situado a continuación del dispositivo de medida y corrección, debido a la modulación en amplitud y/o fase introducida por la pantalla de muestreo. Por ello, la etapa de medida de la aberración se programa de forma que requiera el menor tiempo posible; la etapa de compensación, por su parte, puede durar todo el tiempo durante el cual la aberración del haz no cambie por encima del umbral aceptable, umbral que depende del tipo concreto de aplicación. Si la aberración sobrepasa el citado umbral, se procede a realizar una nueva etapa de medida y compensación.
En su implementación experimental, cuando el módulo adaptativo contiene un elemento reconfigurable pixelado, como son la mayoría de pantallas de cristal líquido, resulta ventajoso utilizar un subsistema de filtrado espacial para eliminar los haces de luz difractados por la estructura periódica del pixelado. Asimismo, y para garantizar un correcto acoplamiento de la fase desde el plano en el que se encuentra el haz aberrado hasta el elemento reconfigurable y desde éste hasta la pupila de entrada del sistema en el que se introduce el haz corregido de aberración, es conveniente utilizar pares de lentes en configuración afocal -es decir, acopladas foco a foco- que, a la vez que hacen posible el citado acoplamiento sin introducir fases adicionales, permiten obtener distintos aumentos (dados por el cociente de sus distancias focales) adaptando así los tamaños de las correspondientes pupilas.
Es asimismo claro que cualquier lente del sistema puede fabricarse como elemento refractivo, difractivo o híbrido; y que puede ser reemplazada por un elemento reflectante (espejo convencional o holográfico) de equivalentes características focales, plegando el camino óptico.
Descripción de los dibujos
Para complementar la descripción que se está realizando y con objeto de ayudar a una mejor comprensión de las características del invento, de acuerdo con varios ejemplos preferentes de realización práctica del mismo, se acompaña como parte integrante de dicha descripción, un juego de dibujos en donde con carácter ilustrativo y no limitativo, se ha representado lo siguiente:
La Figura 1 muestra un diagrama de bloques de un dispositivo que permite poner en práctica el procedimiento descrito en esta invención.
La Figura 2 es un diagrama que muestra una versión detallada de un dispositivo para poner en práctica el citado procedimiento, dispositivo que contiene como elemento reconfigurable una pantalla de cristal líquido con dos polarizadores y dos láminas de retardo de fase, pares de lentes en configuración afocal para proyectar el plano en el que se encuentra el haz aberrado hasta el elemento reconfigurable y proyectar éste sobre la pupila de entrada del sistema en el que se desea introducir el haz corregido de aberración, uno de los cuales es la base de un sistema de filtrado espacial de los órdenes difractados producidos por la pantalla y un elemento estático opcional para compensar parte de la aberración del haz. Asimismo, incluye el sistema óptico para extraer del haz de luz una parte de la energía y dirigirla hacia un módulo de detección de radiación.
La Figura 3 muestra la configuración del citado dispositivo sin el elemento estático opcional para compensar parte de la aberración del haz.
La Figura 4 representa una versión más compacta del dispositivo, en el que el último par afocal se ha eliminado, utilizando el par del sistema de filtrado espacial de los órdenes difractados por la pantalla para proyectar una imagen de ésta sobre el plano en el que se desea formar el haz corregido de aberración.
La Figura 5 muestra una versión extremadamente compacta del dispositivo, sin pares afocales de proyección ni dispositivo de filtrado de los órdenes difractados por la pantalla de cristal liquido, dispositivo de utilidad cuando las aberraciones tienen pequeños gradientes espaciales y el filtrado de órdenes difractados se puede realizar en el sistema óptico inmediatamente siguiente al plano donde se forma el haz corregido de aberración.
Modos de realización de la invención
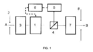
Con referencia a la Figura 1, se presenta el diagrama de bloques genérico de un dispositivo que permite poner en práctica el procedimiento descrito en esta invención. En él se muestra un haz aberrado (A) situado en un plano (2) del espacio, haz que se desea trasladar, libre de aberraciones (B) , a otro plano del espacio (8) , por ejemplo el correspondiente a la pupila de entrada de un sistema óptico situado a continuación de este dispositivo. El dispositivo contiene un módulo adaptativo (1) , medios (4) para extraer del haz de luz (A) una parte de la energía y dirigirla hacia un módulo de detección de radiación (5) y medios (6) para el control del módulo adaptativo (1) , así como elementos o conjuntos de elementos ópticos adicionales (3) y (7) utilizados para proyectar el plano de entrada (2) sobre el módulo adaptativo (1) y éste sobre el plano de salida (8) .
En la Figura 2 se muestra un modo de realización de este dispositivo, que contiene los siguientes componentes y subsistemas:
- Un elemento óptico estático (18) , refractivo, difractivo o híbrido, por ejemplo una lámina compensadora de fase fabricada por fotoescultura en fotorresina, (de acuerdo con lo especificado en la patente: ES2163369) , encargado de compensar toda o parte de la aberración estática del haz (A) incidente en el dispositivo,
- un par de lentes convergentes (31) y (32) de igual o diferente distancia focal, acopladas foco a foco, encargadas de formar una imagen del plano de entrada (2) sobre el elemento reconfigurable del módulo adaptativo (1) , en este caso una pantalla de cristal líquido (12) , de forma que el plano de entrada (2) está situado en el plano focal objeto de la lente (31) y la pantalla de cristal líquido (12) está situada en el plano focal imagen (21) de la lente (32) ,
- un módulo adaptativo, que comprende una pantalla de cristal líquido (12) , dos polarizadores (10) y (14) y dos láminas de retardo de fase (11) y (13) , estando la pantalla de cristal líquido (12) controlada por medios adecuados (6) como por ejemplo un ordenador, que recibe información de un detector de radiación (52) ,
- un sistema de filtrado espacial para eliminar los haces difractados por la pantalla (12) , que comprende dos lentes (15) y (17) de igual o diferente distancia focal, acopladas foco a foco de forma que el plano focal imagen de la lente (15) coincide con el plano focal objeto de la lente (17) y en este plano común se sitúa un filtro espacial (16) , por ejemplo un diafragma circular de diámetro adecuado, cuya misión es bloquear el paso de la luz correspondiente a los órdenes difractados no deseados, dejando pasar solamente el orden de interés. La lente (17) proporciona, en su plano focal imagen, una imagen (22) del plano (21) , sin fases adicionales y escalada como el cociente de la distancia focal de la lente (17) entre la distancia focal de la lente (15) ,
- medios (4) para extraer del haz de luz una cierta cantidad de energía, por ejemplo un divisor de haz de película o cúbico, con el objetivo de redirigir parte del haz, sin cambiar su aberración, hacia el subsistema de medida de la aberración que comprende un detector (52) de radiación y medios (51) , por ejemplo una lente convergente, para formar sobre la superficie del detector la imagen del plano del espacio en el que se desea medir la distribuciones de irradiancia producidas por las subpupilas formadas en el módulo adaptativo durante la etapa de medida de la aberración,
- un par de lentes (71) y (72) de igual o diferente distancia focal, acopladas foco a foco, utilizado para proyectar el plano (22) sobre el plano de salida (8) . Para ello, las lentes (71) y (72) se sitúan de forma que el plano (22) coincide con el plano focal objeto de la lente (71) , el plano focal imagen de la lente (71) coincide con el plano focal objeto de la lente (72) y el plano focal imagen de la lente (72) coincide con el plano de salida (8) . Se obtiene así, en el plano de salida (8) una imagen del plano (22) , sin fases adicionales y escalada como el cociente de la distancia focal de la lente (71) entre la distancia focal de la lente (72) .
En esta descripción el término "lente" se entiende en su acepción amplia, que incluye no sólo los modelos de lentes simples, talladas en un mismo tipo de vidrio, sino también cualquier combinación de las mismas usual en diseño óptico para mejorar sus características de focalización y disminuir sus aberraciones, como por ejemplo los dobletes acromáticos. Asimismo, se incluyen bajo la denominación genérica de "lente" las lentes difractivas, las de gradiente de índice y las fabricadas mediante la combinación de cualesquiera de esas tecnologías.
En una implementación particular de este dispositivo, a modo de ejemplo, se utilizan, con sus correspondientes soportes optomecánicos, componentes con las siguientes características técnicas.
(18) Lámina compensadora de aberraciones estáticas fabricada mediante fotoescultura en fotorresina con diámetro adecuado al del haz que se desea corregir.
(31) , (32) , (71) , (72) : dobletes acromáticos de 2.54 cm de diámetro y 10 cm de distancia focal.
(10) y (14) : polarizadores lineales montados sobre soportes rotatorios de 2.54 cm de diámetro.
(11) y (13) : láminas de retardo de fase de orden 0 para la longitud de onda central del haz que se desea corregir, montadas sobre soportes rotatorios de 2.54 cm de diámetro.
(12) : pantalla de cristal líquido tipo TNLCD (Twisted-Nematic Liquid Cr y stal Display) , que para operar con luz de longitud de onda 514 nm tendrá preferentemente unas características tales como un giro molecular α = -1.594 rad, birrefrigencia máxima a 514 nm de β = 2.92 rad, orientación del director molecular respecto al eje vertical = 0.792 rad, con 832 x 624 píxeles de 26.7 micras por 21.3 micras, siendo el periodo entre píxeles de 32 micras tanto en horizontal como en vertical, y un tamaño total de 2.8 cm por 2.1 cm, colocando los polarizadores lineales con sus ejes de transmisión orientados según los ángulos (10) = -25º, (14) = -51º; y las láminas de retardo de fase con sus ejes lentos orientados según los siguientes ángulos (11) = -28º, (13) = 17º, todos ellos medidos con respecto al eje horizontal del sistema de referencia que tiene su eje X orientado en la dirección del director molecular a la entrada de la pantalla TNLCD, utilizando láminas de cuarto de onda de cuarzo, de orden 0 para la longitud de onda 514 nm.
(15) y (17) : dobletes acromáticos de 2.54 cm de diámetro y 15 cm de distancia focal.
(16) : diafragma central de abertura variable.
(4) : divisor de haz cúbico de 2.54 cm de lado
(51) : doblete acromático de 2.54 cm de diámetro y 5 cm de distancia focal.
(52) : cámara CCD de barrido progresivo
(6) : ordenador
En otro modo de realización de esta invención (Figura 3) , la aberración del haz (A) se compensa únicamente con el módulo adaptativo (1) sin utilizar un elemento adicional (18) para compensar parte de o toda la aberración estática.
Basándose en el mismo principio de esta invención, en otro modo de realización el par de lentes (71) y (72) puede eliminarse del sistema, sin más que adaptar las distancias focales de las lentes (15) y (17) para que, acopladas foco a foco y estando el plano (21) de la pantalla de cristal líquido (12) en el plano focal objeto de la lente (15) , se tenga el plano de salida (8) en el plano focal imagen de la lente (17) , tal y como se indica en la Figura 4.
Otro ejemplo de realización es el indicado en la Figura 5, en el cual se han suprimido del dispositivo los pares de lentes (31) y (32) , (15) y (17) , y (71) y (72) , así como el filtro espacial (16) , acercando lo más posible los planos de entrada (2) y de salida (8) al plano de la pantalla de cristal líquido (12) . Esta configuración es particularmente compacta y resulta de utilidad cuando la curvatura local del frente aberrado es pequeña, y la forma del mismo no varía sustancialmente al propagarse libremente por el espacio en longitudes de algunos centímetros.
Dado que lo esencial para el funcionamiento de la pantalla de cristal líquido (12) como modulador espacial de luz es que ésta incida sobre ella en el adecuado estado de polarización, tanto la lámina de retardo de fase (11) como el polarizador (10) pueden eliminarse del sistema si el haz de entrada no necesita atravesar uno o ambos elementos para adecuar su estado de polarización al requerido por la pantalla (12) .
Es asimismo posible utilizar módulos adaptativos que funcionen en modo de reflexión. Un modo de realización con este diseño puede utilizar pantallas de cristal líquido que funcionan en modo de reflexión, con las que la luz vuelve, después de atravesar la pantalla (12) , a atravesar los elementos (11) y (10) situados delante de ella. En ese caso, el sistema completo aquí descrito puede plegarse con las modificaciones oportunas, eliminando del mismo los elementos (13) y (14) , cuyo papel es desempeñado ahora por los elementos (11) y (10) después de la reflexión.
Dado el carácter secuencial del procedimiento descrito en esta invención, una variante de cualquiera de los modos de realización del dispositivo descritos hasta el momento consiste en utilizar, como medio (4) para extraer del haz de luz (A) una parte de la energía y dirigirla hacia el módulo de detección de radiación (5) un espejo basculante o un dispositivo electroóptico o acustoóptico que permita durante la etapa de medida redirigir hacia el detector (5) prácticamente el 100% de la luz incidente sobre él y que durante la etapa de compensación permita que la luz prosiga su trayecto directo entre los planos de entrada (2) y salida (8) .
Por último, cabe destacar que opcionalmente podrán disponerse más de un dispositivo como el descrito para la puesta en práctica del procedimiento adaptativo para la medida y compensación de aberraciones ópticas, colocados uno a continuación del otro, de forma que cada uno de los planos de salida (8) coincida o esté ópticamente conjugado con el siguiente plano de entrada (2) .