Instalación termogravitacional adaptada para trabajar a altas y bajas presiones.
Sector de la técnica
La presente invención se refiere a una instalación termogravitacional adaptada para trabajar con fluido a altas y a bajas presiones.
Estado anterior de la técnica
Las propiedades de transporte de fluidos que se determinan mediante la aplicación de la técnica termogravitacional son el resultado de la combinación del efecto del gradiente térmico (difusión térmica) y de la convección (campo gravitatorio) . Los procesos de transporte en fluido debidos al fenómeno de la termodifusión, han adquirido un considerable interés en problemas tan diversos como el análisis de inestabilidad hidrodinámica, el transporte de materia en seres vivos, o en algunos problemas prácticos, como el fraccionamiento de polímeros y la modelización para la explotación óptima de yacimientos petrolíferos. Hoy en día, el uso de la difusión térmica también despierta gran interés en problemas medio ambientales, como por ejemplo la deposición de aerosoles o la termoforesis.
Desde el punto de vista industrial, la importancia de la termodifusión en la exploración de pozos petrolíferos radica en el conocimiento de las variaciones de la composición de los fluidos que impregnan los depósitos. Desde su formación en un yacimiento, los constituyentes son redistribuidos por diversos procesos. A profundidades cercanas de 4000 metros, los fluidos están a menudo próximos a las condiciones críticas, y en consecuencia son muy sensibles a las fuerzas aplicadas como la gravedad o los gradientes de temperatura y de presión.
El fenómeno de la termodifusión fue observado por primera vez por Ludwig, quien descubrió que un gradiente de temperatura ocasionaba una redistribución de concentración, siendo posteriormente analizado por Soret. La magnitud relevante en la descripción del fenómeno de la termodifusión es el coeficiente Soret, dado por
, donde DT es el coeficiente de difusión térmica y D el coeficiente de difusión ordinaria o molecular. Para la determinación del coeficiente Soret se conocen dos procedimientos experimentales basados en régimen puramente no convectivo, y régimen convectivo. El primer caso, corresponde a una célula de separación de difusión térmica y el segundo, a una célula de separación de flujo continuo. Las medidas efectuadas en estas células de separación pueden venir seriamente afectadas por la presencia de perturbaciones convectivas originadas por la inestabilidad hidrodinámica o por la existencia de gradientes laterales de temperatura.
Con objeto de evitar estas perturbaciones, se han realizado medidas de separación en microgravedad y se han determinado los coeficientes de transporte de las fluido en estas condiciones. Aunque los resultados no son concluyentes, parecen señalar diferencias importantes con los valores obtenidos en la superficie de la Tierra.
Paralelamente, se han mejorado los dispositivos experimentales no convectivos y se han refinado los métodos ópticos de análisis. Pero, en cualquier caso, la pequeñez del efecto, sobre todo en la separación, hace que la mayoría de las medidas experimentales obtenidas con estas técnicas tengan una gran imprecisión.
Por el contrario, en una columna termogravitacional, también denominada columna de difusión térmica o de Clusius y Dickel, el efecto elemental de separación a presión atmosférica por difusión térmica se combina con las corrientes convectivas verticales, dando lugar a una separación amplificada entre los extremos de la columna termogravitacional que puede ser tanto positiva como negativa. En el caso de la separación positiva, es el componente menos denso de una mezcla de fluidos binaria el que se dirige hacia la pared caliente dando lugar a unos enriquecimientos en la parte superior de la célula, mientras el componente más denso se enriquece en la parte inferior, y por lo tanto, el coeficiente Soret y el coeficiente de difusión térmica son positivos. Ahora bien, en el caso de una separación negativa, es el componente más denso el que se encuentra en la parte superior de la columna dando lugar a una separación potencialmente inestable y por lo tanto ST y DT son negativos.
Los resultados obtenidos muestran varias ventajas de este método, por ejemplo, la separación estacionaria es independiente del gradiente térmico, y por lo tanto no es necesario un control preciso de las temperaturas. Además, la sensibilidad del método puede incrementarse disminuyendo la anchura del espacio de trabajo para el caso de columnas cilíndricas y multiplicarse hasta lograr separaciones absolutas para el caso de columnas planas inclinadas. También para el caso de separaciones negativas, se ha podido establecer un gradiente adverso de densidad, trabajando siempre con varios órdenes de magnitud por encima del valor crítico de Grashof. Además, la reproducibilidad de las medidas experimentales obtenidas mediante este método, muestra la posibilidad del método termogravitacional en la determinación de las propiedades de transporte para mezclas líquidas, trabajando tanto en configuraciones planas como cilíndricas a di- ferentes relaciones de aspecto, e incluso con nuevos procedimientos experimentales, tales como, la velocimetría láser.
Desde sus primeras aplicaciones en las que el objetivo era conseguir la separación de isótopos, hasta el abanico de posibilidades de las aplicaciones realizadas hoy en día (desde el campo de la geofísica hasta el de la metalurgia) , muestran la aptitud y la diversidad de posibilidades de la aplicación de la técnica termogravitacional.
Además, entre las técnicas existentes para la determinación de propiedades de transporte de fluido, cabe destacar la técnica termogravitacional como la más idónea para la realización de los ensayos a altas presiones.
Exposición de la invención
El objeto de la invención es proporcionar una instalación termogravitacional según se define en las reivindicaciones.
La instalación gravitacional adaptada para trabajar a altas y bajas presiones que comprende una columna termogravitacional cilíndrica que incluye un tubo exterior y un tubo interior que definen un espacio anular, unos medios de carga de una mezcla de fluidos en el espacio anular, y unos medios de extracción de muestras.
La instalación gravitacional comprende unos medios generadores de alta presión que comprenden un dispositivo hidráulico que incluye un cilindro hidráulico, y un intensificador de presión que accionado por el cilindro hidráulico comprime la mezcla de fluidos en el interior de la columna termogravitacional hasta alcanzar una presión determinada, manteniendo dicha presión en el espacio anular.
La instalación termogravitacional de la invención permite determinar experimentalmente diversas propiedades de transporte de mezclas de fluidos, tales como el coeficiente de difusión térmica, el coeficiente de difusión molecular y el coeficiente Soret a bajas y altas presiones aplicando la técnica termogravitacional.
La instalación termogravitacional de la invención además de estar preparada para trabajar altas presiones, permite ser utilizada con todo tipo de fluidos, tanto en estado líquido como gases licuados. Por último, el diseño optimizado de la columna termogravitacional, facilita el montaje/desmontaje de sus componentes.
Descripción de las figuras
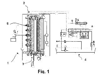
Figura 1 se muestra un esquema de la instalación termogravitacional según la invención adaptada para trabajar a altas y bajas presiones.
Figura 2 se muestra una sección longitudinal de una columna termogravitacional de la instalación termogravitacional mostrada en la figura 1.
Figura 3 se muestra en detalle unos medios de carga de una mezcla de fluidos en una columna termogravitacional de la instalación termogravitacional mostrada en la figura 1.
Figura 4 se muestra en detalle otros medios de carga de una mezcla de fluidos en una columna termogravitacional de la instalación termogravitacional mostrada en la figura 1
Figura 5 se muestra en detalle unos medios generadores de alta presión en una columna termogravitacional de la instalación termogravitacional mostrada en la figura 1.
Descripción detallada de la invención
La instalación termogravitacional 1 de la invención, mostrada en la figura 1, comprende una columna termogravitacional 2, unos medios de carga 3 de una mezcla de fluidos 20, 21 a la columna termogravitacional 2, unos medios generadores de alta presión 4 que generan y mantienen la mezcla de fluidos 20, 21 a una presión determinada en el interior de al columna termogravitacional 2 , y unos medios de extracción de muestras 5 de fluido para su posterior análisis.
La columna termogravitacional 2, mostrada en detalle en la figura 2, es del tipo cilíndrica, y comprende un tubo interior 6 y un tubo exterior 8, ambos tubos 6, 8 cilíndricos y coaxiales, definen un espacio anular 7 en donde se introduce una mezcla de fluidos 20, 21, siendo el espacio anular 7 el espacio anular comprendido entre el tubo exterior 8 y el tubo interior 6. La variación de la anchura del espacio anular 7 se consigue con sólo cambiar el tubo interior 6, para lo cual el diseño de la columna termogravitacional 2 es desmontable.
La columna termogravitacional 2 comprende una tapa 9a un extremo de la columna termogravitacional 2, y una base 9b en el otro extremo de la columna termogravitacional 2.
La concentricidad entre el tubo exterior 8 y el tubo interior 6 se asegura por una parte, con las tolerancias geométricas y dimensionales establecidas en la fabricación de las diferentes piezas, y por otra mediante la tapa 9a y la base 9b con las cuales se fijan el tubo exterior 8 y el tubo interior 6.
El montaje entre el tubo exterior 8, el tubo interior 6, la tapa 9a y la base 9b encierra un volumen anular sin posibilidad de fugas, asegurando así que no haya pérdidas de la mezcla de fluidos 20, 21 durante el proceso de la termodifusión a altas y bajas presiones. La hermeticidad del espacio anular 7 se asegura mediante unas juntas de estanqueidad que deben ser compatibles con los fluidos que se vayan a analizar en el dispositivo en cuestión.
El tubo exterior 8 es mantenido a una temperatura fría constante y el tubo interior 6 a una temperatura caliente constante, produciéndose así un gradiente de temperatura necesario para que se produzca la separación de los componentes de la mezcla de fluidos 20, 21.
Según la teoría termogravitacional, la separación estacionaria es independiente del gradiente de temperatura al que está sometido, pero, otra variable a tener en cuenta en el proceso, además de la separación, es el tiempo de relajación del proceso, en el cual el gradiente térmico juega un papel muy importante.
Para disponer de datos fiables del valor de temperatura en el tubo exterior 5 y en el tubo interior 6 de la columna termogravitacional 2, la instalación termogravitacional 1 de la invención dispone de cuatro termopares, no representados, para poder medir tanto el gradiente de temperatura vertical de cada tubo 6, 8, así como el gradiente de temperatura real en el espacio anular 7 con una precisión de 0.01ºC. Así mismo, la columna termogravitacional 2 comprende una sonda de presión no representada, que mide la presión en el interior del espacio anular 7.
La columna termogravitacional 2 tiene capacidad para trabajar con presiones de hasta 500 bar y con gradientes de temperatura en el espacio anular 7, ajustables entre 0ºC y 40ºC.
Por otro lado, la columna termogravitacional 2 permite la limpieza y secado del interior del espacio anular 7 sin necesidad de que éste sea desmontado cada vez que haya que cambiar la mezcla de fluidos 20, 21 a analizar. El proceso de limpieza se realiza en varias etapas, primero se limpia mediante un líquido disolvente y luego se realiza el secado con aire seco a presión.
En las figuras 3 y 4, se muestran unos medios de carga 3 de la mezcla de fluido 20, 21 en el interior de la columna termogravitacional 2, diferenciándose dos tipos de fluido 20, 21; aquellos fluidos 20 que a presión atmosférica y temperatura ambiente están en estado líquido, y aquellas fluido 21 que a presión atmosférica y temperatura ambiente están en estado gaseoso.
La carga de la mezcla de fluido 20, 21 debe producirse de forma segura y controlada en velocidad en el interior de la columna termogravitacional 2, dicha carga se realiza controlando la presión de empuje a la mezcla de fluidos 20, 21, logrando así eliminar las burbujas que podrían quedar encerradas en el interior del espacio anular 7. Los medios de carga 3 comprenden una válvula 16 acoplada a la base 9b, a través de la cual se carga la mezcla de fluido 20, 21 al interior de la columna termogravitacional 2, y un tubo de alimentación 17, hecho de acero, conectado con la válvula 16.
En el caso de que la mezcla de fluidos 20 sea líquida, los medios de carga 3, mostrados esquemáticamente en la figura 3, comprenden además un vaso 19a que contiene la mezcla de fluidos 20, y un dispositivo 18a para suministrar aire comprimido que después de filtrar y secar adecuadamente es el que se encarga de empujar a una presión controlada, la mezcla de fluidos 20 depositada en el vaso 19a.
Para la carga de fluido 21 en estado gaseoso, es decir gases licuados, los medios de carga 3, mostrados esquemáticamente en la figura 4, comprenden además una bombona 18b, y una bomba de gas 19b que comunica la bombona 18b con el tubo de alimentación 17, de modo que a través de la bomba de gas 19b se carga la mezcla de fluidos 21 en el interior de la columna gravitacional 2 a la presión a la cual se desea realizar el proceso.
Por otro lado, los medios generadores de alta presión 4, una vez que la columna termogravitacional 2 ha sido cargada mediante los medios de carga 3 con la mezcla de fluidos 20, 21, comprime dicha mezcla de fluidos 20, 21 hasta la presión de proceso necesaria en cada momento, pudiendo ser dicha presión hasta 5x107 Pa. Además una vez alcanzado el estado estacionario, los medios generadores de alta presión 4 se encargan de empujar el fluido hacia los medios de extracción de muestras 5, manteniendo la presión constante y controlando la velocidad de extracción.
Los medios generadores de alta presión 4, mostrados en la figura 5, comprenden un dispositivo hidráulico 23, y un intensificador de presión 24 con una relación de presiones de 1 a 5 y una capacidad de almacenar fluido a presión de 120 cc.
El dispositivo hidráulico 23 debe proporcionar la energía hidráulica al intensificador de presión 24 que comprime la mezcla de fluidos 20, 21 hasta alcanzar la presión de trabajo en el interior de la columna termogravitacional 2, y empujar a dicha mezcla de fluidos 20, 21 en el momento de la extracción de muestras. El dispositivo hidráulico 23 comprende un cilindro hidráulico 23b que puede avanzar y retroceder con presión y velocidad controladas, un lector de carrera dispuesto en el cilindro hidráulico 23b y cuya salida será procesada en un lector a través del cual se puede leer la distancia recorrida por dicho cilindro hidráulico 23b, una válvula reductora de presión proporcional 23d a través de la cual se realiza el control de presión en el espacio anular 7 en lazo cerrado de presión, y unos reguladores de caudal 23e, uno para cada sentido de desplazamiento del cilindro hidráulico 23b. El control de la presión es necesario para lograr mantener la presión constante durante todo el proceso de separación.
Una vez se ha comprimido la mezcla de fluidos 20, 21 hasta la presión de proceso establecida en cada caso, se paran los medios generadores de alta presión 4. Con esto se consigue que el fluido 20, 21 encerrado en el espacio anular 7 no sea distorsionado por ninguna acción externa. La instalación termogravitacional 1 permanecerá en esta situación hasta que llegue el momento de realizar la extracción de las muestras, momento en el que se volverá a poner en funcionamiento los medios generadores de alta presión 4, manteniéndose la presión constante durante la extracción de muestras para su análisis posterior.
El diseño del intensificador de presión 24 se ha hecho de forma que una vez finalizado el proceso, permita la evacuación del fluido remanente, su limpieza y secado, para asegurar que no queden residuos que pudieran contaminar la siguiente mezcla de fluidos. El intensificador de presión 24 incluye un evacuador de burbujas 26 que facilita la evacuación de las burbujas de aire que puedan generarse durante el proceso de carga. Es muy importante que el intensificador de presión 24, que comprende una cámara de presión, asegure un cierre hermético en la cámara de presión, ya que de lo contrario se perdería el fluido que debe servir para empujar a las muestras a analizar.
Por último, la extracción de las muestras bajo presión de trabajo debe realizarse de forma automática, y sin que, durante el proceso de termodifusión, la presión a la que está sometida la mezcla de fluidos 20, 21 sufra cambios durante la extracción de muestras y el análisis.
Para controlar el volumen del fluido cargado en los medios de extracción de muestras 5, es necesario conocer la carrera realizada por el cilindro hidráulico 23b, dato que se conoce a través del lector de carrera dispuesto en el cilindro hidráulico 23b, de modo que una vez se haya recorrido la carrera correspondiente al volumen a extraer, se cierra la válvula.
Para asegurar que la presión del fluido extraído para el análisis no sufre variaciones de presión, antes de comenzar a extraer las muestras se deben cargar unas tuberías de extracción a presión, no representadas, con un gas que a la temperatura y presión de proceso no haya licuado.
Los medios de extracción 5 comprenden unas válvulas de extracción 10 que están integradas en el tubo exterior 8 de la columna termogravitacional 2. Mediante las válvulas de extracción 10 se consigue mantener la mezcla de fluidos 20, 21 a presión en el interior del espacio anular 7 sin riesgo de fugas, mediante un cierre hermético metal contra metal, y evitando volúmenes muertos que podrían entorpecer el proceso de separación, tanto a presión atmosférica como a altas presiones.
La extracción se lleva a cabo comenzando desde la válvula de extracción 10 más cercana a la tapa 9a de la columna termogravitacional 2 hacia la base 9b. En la extracción se diferencian dos etapas; una primera etapa, en la cual se saca una cantidad necesaria para llevar a cabo el análisis, siendo la cantidad necesaria 3 cc, y se deja dicha cantidad en la tubería de salida encerrada entre dos válvulas, y una segunda etapa, independiente de la columna termogravitacional 2, en la que se analizan las muestras.
El lector de carrera del cilindro hidráulico 23b permite controlar la cantidad necesaria de 3 cc por muestra. La persona que controla la instalación termogravitacional 1 será la encargada de cerrar la válvula de extracción 10 una vez el cilindro hidráulico 23b haya recorrido la distancia establecida. Con ello se consigue que los medios generadores de alta presión 4 empujen a la mezcla de fluidos 20, 21 manteniendo la presión constante durante todo el proceso.
Se procede de la misma forma con las cinco muestras que se van a extraer. Una vez que se dispone de la cantidad necesaria para proceder al análisis fuera de la columna termogravitacional 2, se conecta, uno a uno, un densímetro, no representado, a las tuberías de extracción de muestras, se empuja el fluido extraído hacia el densímetro. De este modo, el análisis de las muestras se lleva a cabo mediante el densímetro y una célula de alta presión capaz de operar a altas presiones y de medirla densidad con una precisión de 10x106 g/cm3.